EasyManua.ls Logo

Mx Onda MX-CPV2037C - Controls and Elements

Mx Onda MX-CPV2037C
Print Icon
To Next Page IconTo Next Page
To Next Page IconTo Next Page
To Previous Page IconTo Previous Page
To Previous Page IconTo Previous Page
Loading...
2
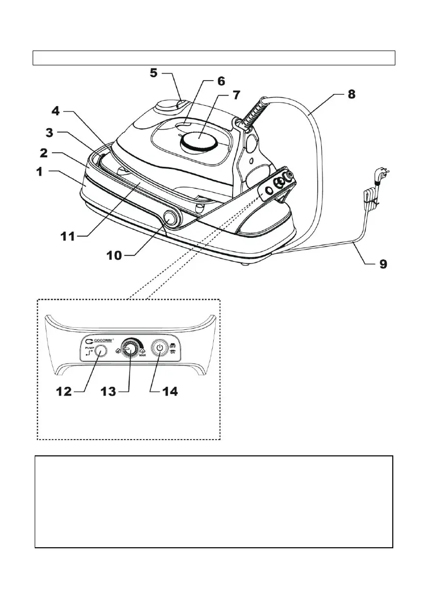
CONTROLS AND ELEMENTS
1. Water tank
2. Folding handle
3. Anti-lime filter
4. Sole with ceramic coating
5. Pilot temperature indicator
6. Steam button
7. Temperature selector
8. Main hose
9. Power cord
10. Retention folding handle
11. Iron stand base
12. Water pump indicator
13. Steam flow regulation
14. On / off switch
Control pannel