EasyManua.ls Logo

Mx Onda MX-CPV2037C - Commandes Et Fonctions

Mx Onda MX-CPV2037C
Print Icon
To Next Page IconTo Next Page
To Next Page IconTo Next Page
To Previous Page IconTo Previous Page
To Previous Page IconTo Previous Page
Loading...
2
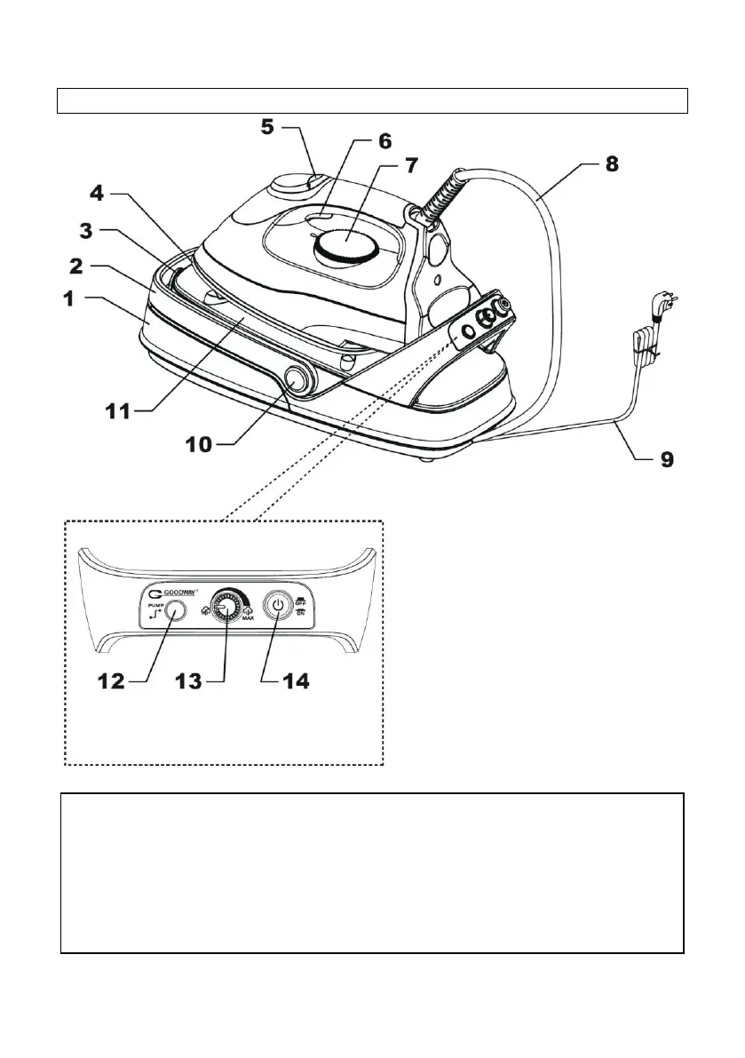
COMMANDES ET FONCTIONS
1. Réservoir d'eau
2. Poignée pliante
3. Filtre anti-calcaire
4. Semelle avec revêtement en céramique
5. Indicateur de température pilote
6. Bouton de vapeur
7. Sélecteur de température
8. Tuyau principal
9. Cable d'alimentation
10. Rétention pliant la poignée
11. Socle en fer
12. Indicateur de pompe à eau
13. Régulation du débit de vapeur
14. Interrupteur marche / arrêt
Panneau de commande