EasyManua.ls Logo

Mx Onda MX-CPV2037C - Page 31

Mx Onda MX-CPV2037C
Print Icon
To Next Page IconTo Next Page
To Next Page IconTo Next Page
To Previous Page IconTo Previous Page
To Previous Page IconTo Previous Page
Loading...
2
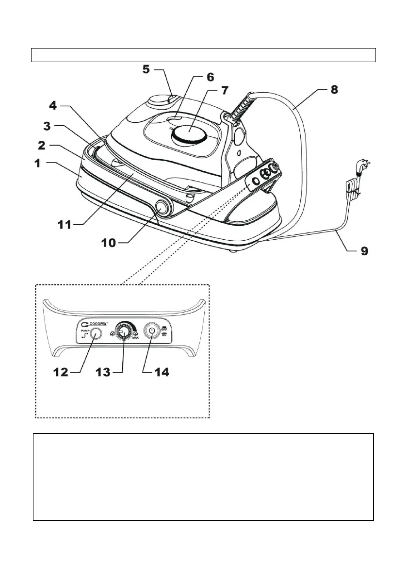
CONTROLES E ELEMENTOS
1. Deposito de água
2. Punho dobrável
3. Filtro anti-calcário
4. Sola com revestimento cerâmico
5. Indicador de temperatura piloto
6. Botão de vapor
7. Seletor de temperatura
8. Mangueira principal
9. Cabo de alimentação
10. Alça de retenção de dobramento
11. Base de suporte de ferro
12. Indicador da bomba de água
13. Regulação do fluxo de vapor
14. Interruptor de ligar / desligar
Painel de controle