EasyManua.ls Logo

Myray hyperion MRT - Page 72

Myray hyperion MRT
Print Icon
To Next Page IconTo Next Page
To Next Page IconTo Next Page
To Previous Page IconTo Previous Page
To Previous Page IconTo Previous Page
Loading...
72 FR
hyperion - INSTRUCTION DE SERVICE
5.4 Sélection de la taille patient (et Facteurs techniques)
Une fois le patient positionné, hyperion en détecte automatiquement la taille à travers la lecture de données morpho-
métriques et en fonction de l’examen choisi, l’hyperion calcule les facteurs techniques conseillés.
Si l’on souhaite modier ces facteurs, sélectionner celui que l’on veut modier en frappant sur la touche
de droite.
Une fois le facteur sélectionné, on peut en modier la valeur en utilisant les touches
et .
Si l’on souhaite revenir aux programmations conseillées par hyperion, sélectionner le champ “Auto” en utilisant la
touche
de droite, puis frapper sur o .
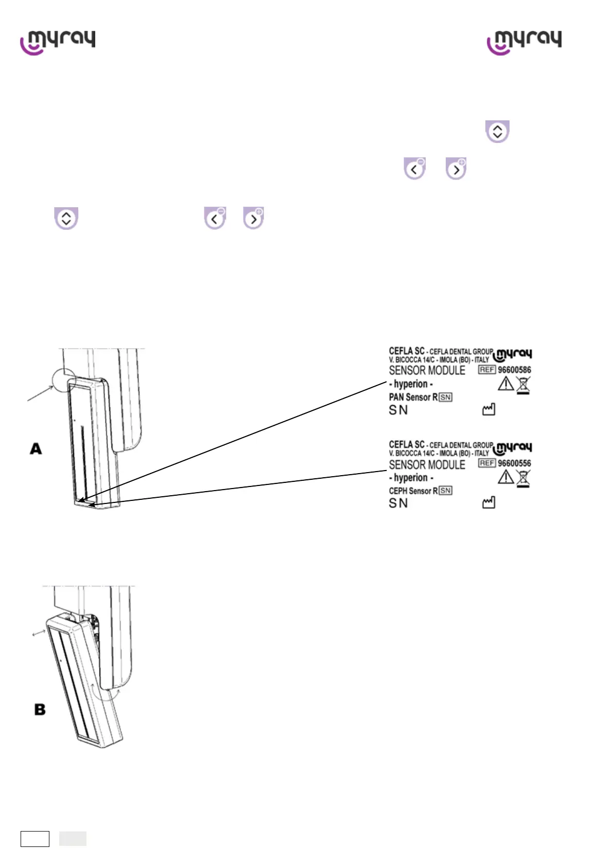
5.5 Démontage du capteur
Pendant le fonctionnement, le capteur est mécaniquement bloqué et ne peut pas être démonté.
L’hyperion se positionne automatiquement pour le démontage ou l’insertion si l’on sélectionne un type d’examen autre
que l’examen courant.
Le capteur descend automatiquement en cas de besoin. La position peut être facilement reconnue en remarquant que
le capteur est libre dans la zone supérieure (A).
Saisir le capteur des deux mains et exercer un mouvement de rotation (B) pour le dégager ou pour l’insérer. On perce-
vra un déclic mécanique conrmant que l’opération a été correctement exécutée.
Attention: déplacer le capteur en le tenant solidement des deux mains, éviter les chutes et les chocs violents.
Au terme de cette opération, appuyer sur la touche de remise à zéro: le capteur se positionnera dans la position de
travail. Si le capteur est correctement installé, la diode verte « ready » s’allumera sur la console.

Table of Contents

Related product manuals