EasyManua.ls Logo

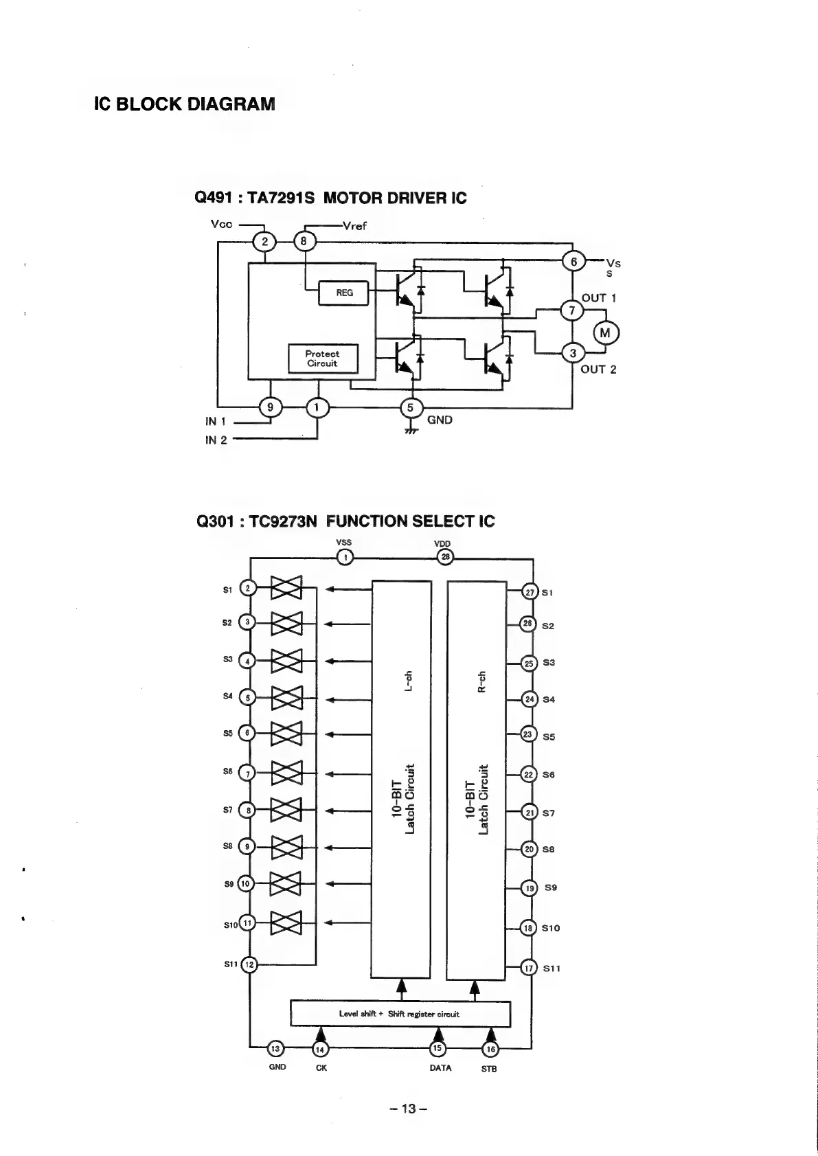
NAD C 340 - IC Block Diagram; TA7291 S Motor Driver IC Diagram; TC9273 N Function Select IC Diagram

NAD C 340
19 pages
Print Icon
To Next Page IconTo Next Page
To Next Page IconTo Next Page
To Previous Page IconTo Previous Page
To Previous Page IconTo Previous Page
Loading...
IC
BLOCK
DIAGRAM
Q491
:
TA7291S
MOTOR
DRIVER
IC
Vcc
Vref
Q301
:
TC9273N
FUNCTION
SELECT
IC
VSS
VDD
10-BIT
Latch
Circuit
2
s
as
a0
i
3
-~13-

Related product manuals