EasyManua.ls Logo

National Instruments PCI-6601 - Example Application that Works Incorrectly (Duplicate Counting); Example Application that Prevents Duplicate Counting

National Instruments PCI-6601
64 pages
Print Icon
To Next Page IconTo Next Page
To Next Page IconTo Next Page
To Previous Page IconTo Previous Page
To Previous Page IconTo Previous Page
Loading...
Chapter 2 Device Overview
NI 660x User Manual 2-6 ni.com
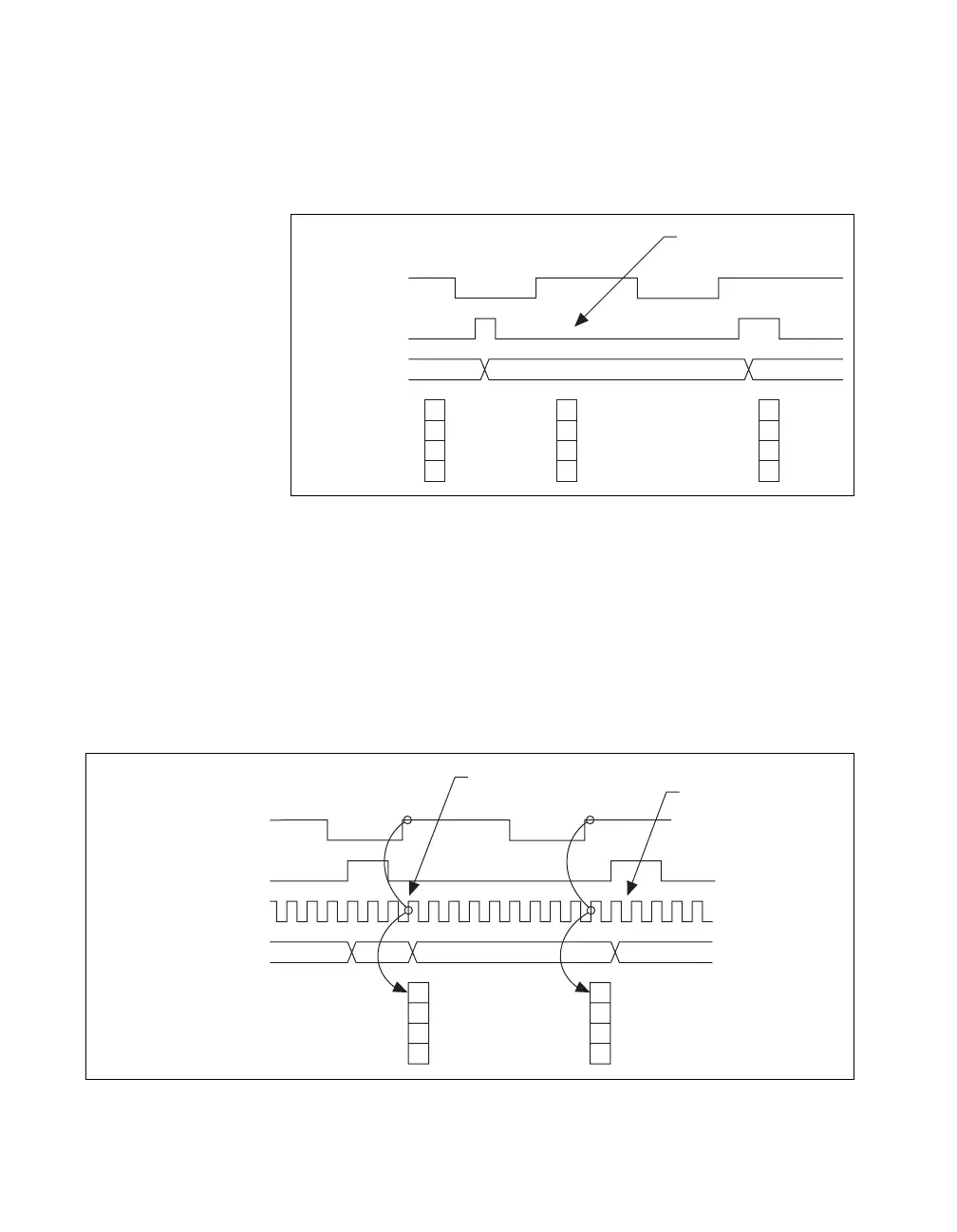
Example Application That Works Incorrectly (Duplicate Counting)
In Figure 2-5, after the first rising edge of Gate, no Source pulses occur.
So the counter does not write the correct data to the buffer.
Figure 2-5. Example Application That Works Incorrectly
Example Application That Prevents Duplicate Counting
With duplicate count prevention enabled, the counter synchronizes
both the Source and Gate signals to the maximum onboard timebase.
By synchronizing to the timebase, the counter detects edges on the Gate
even if the Source does not pulse. This enables the correct current count to
be stored in the buffer even if no Source edges occur between Gate signals.
Figure 2-6 shows an example application that prevents duplicate counting.
Figure 2-6. Example Application That Prevents Duplicate Counting
Gate
Source
Counter Value
Buffer
7
67 1
No Source edge, so no
value written to buffer.
Gate
Source
80 MHz Timebase
Counter Value
Buffer
0
7
7
670 1
Counter detects
rising Gate edge.
Counter value
increments only
one time for each
Source pulse.

Table of Contents

Related product manuals