EasyManua.ls Logo

NEC MultiSync XP29, XM29 Xtra - Page 36

NEC MultiSync XP29, XM29 Xtra
40 pages
Print Icon
To Next Page IconTo Next Page
To Next Page IconTo Next Page
To Previous Page IconTo Previous Page
To Previous Page IconTo Previous Page
Loading...
36
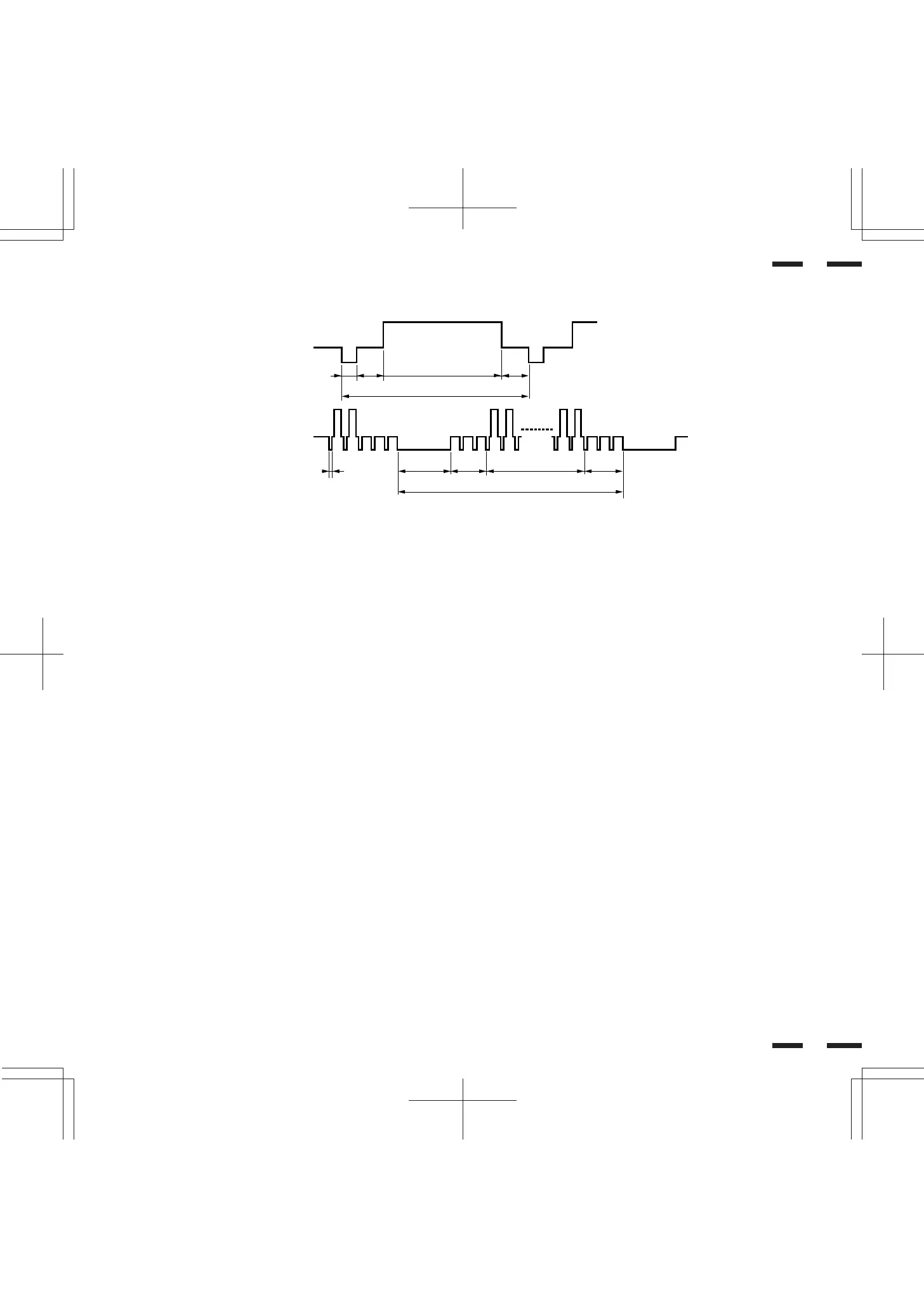
Composite Sync. & Video (Sync. on Green)
62
61
Recommended Sync Signal Timing
Horizontal Duty should be 3 to 30%.
Horizontal sync width should exceed 0.9 µsec.
Horizontal back porch should exceed 2.0 µsec at sync on green and 1.2 µsec at others except when at 15KHz.
Horizontal blanking should exceed: 15.75; 10µsec, 31KHz< fH<63.2KHz: 3.6 µsec, 63.2KHz<fH: 2.7 µsec.
Vertical Duty should be 0.2 to 10%.
Vertical sync width should exceed 40 µsec or 2 horizontal lines.
Vertical sync width plus back porch should exceed 0.4 msec.
Interlaced signals are not recommended.
Interlaced signals with composite sync may not be displayed.
A
B
C
D
E
VIDEO
O
PQ
R
S
P
VIDEO
Sync. Polarity: Negative
HORIZONTAL
VERTICAL

Related product manuals