EasyManua.ls Logo

Necchi Q421A - Stretch Stitch; Straight Stretch Stitch; Zigzag Stretch Stitch

Necchi Q421A
60 pages
Print Icon
To Next Page IconTo Next Page
To Next Page IconTo Next Page
To Previous Page IconTo Previous Page
To Previous Page IconTo Previous Page
Loading...
29
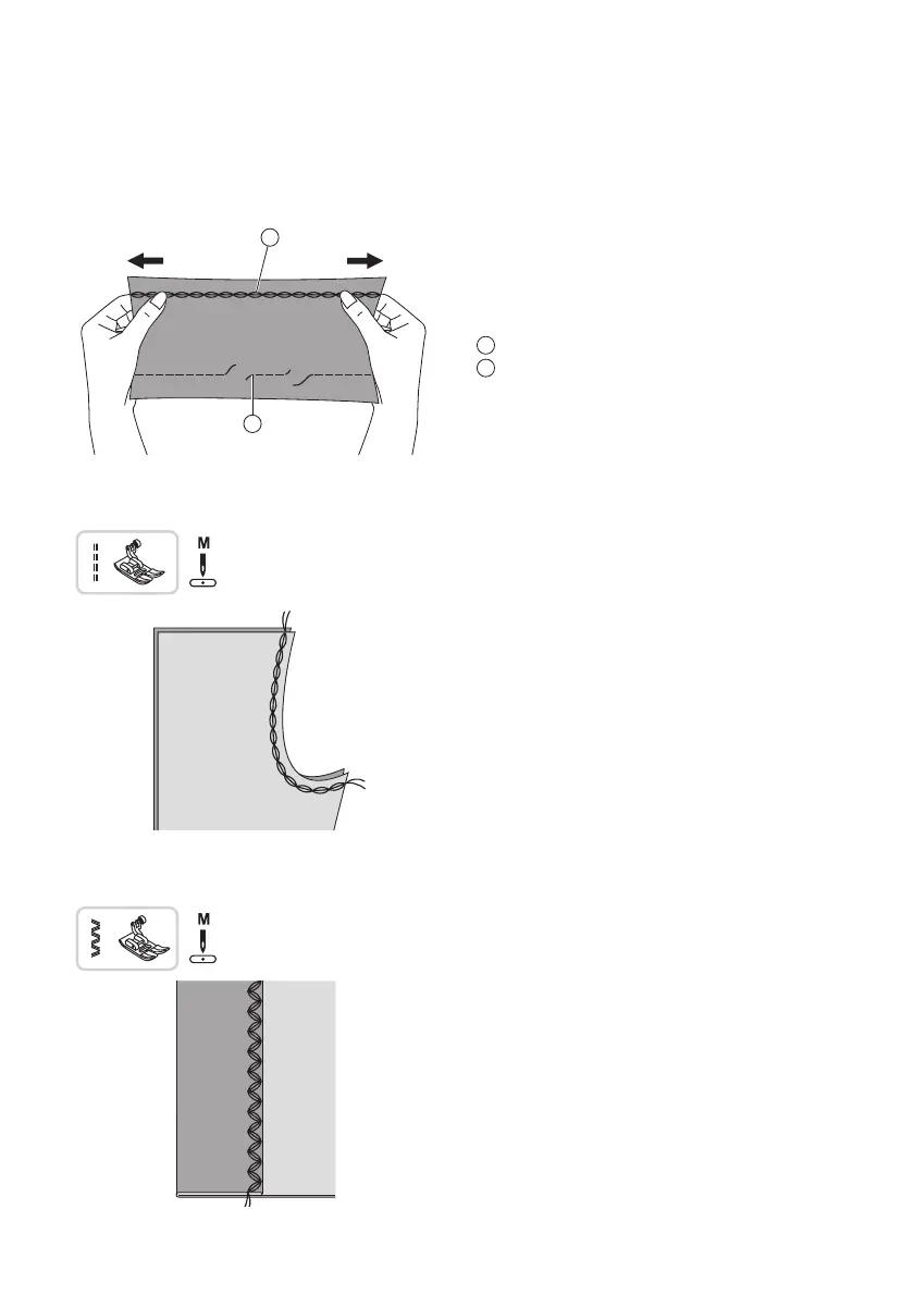
Stretch stitch
Good for easy to ravel and knit fabrics.
It’s good for joining durable fabric such as
denims.
These stitches can also be used as a
decorative top stitches.
1
Stretch stitch
2
Straight stitch
2
1
Use this stitch with knitted tricot or other stretchy fabrics. The stitch enables your seam
to stretch without breaking the thread.
v
Straight stretch stitch
Straight stretch stitch is used to add triple
reinforcement to stretch and hardwearing
seams.
Using
the all purpose foot.
v
Zigzag stretch stitch
7ULSOH]LJ]DJVWUHWFKVWLWFKLVVXLWDEOHIRU¿UP
fabrics like denim, poplin, etc.
Using
the all purpose foot.

Table of Contents

Related product manuals