EasyManua.ls Logo

Nexo NXES104 - Back Panel Description; Mains Connectors; Speakon 4 Inputs

Nexo NXES104
140 pages
Print Icon
To Next Page IconTo Next Page
To Next Page IconTo Next Page
To Previous Page IconTo Previous Page
To Previous Page IconTo Previous Page
Loading...
DPU DIGITAL PATCHING UNIT FOR NXAMP
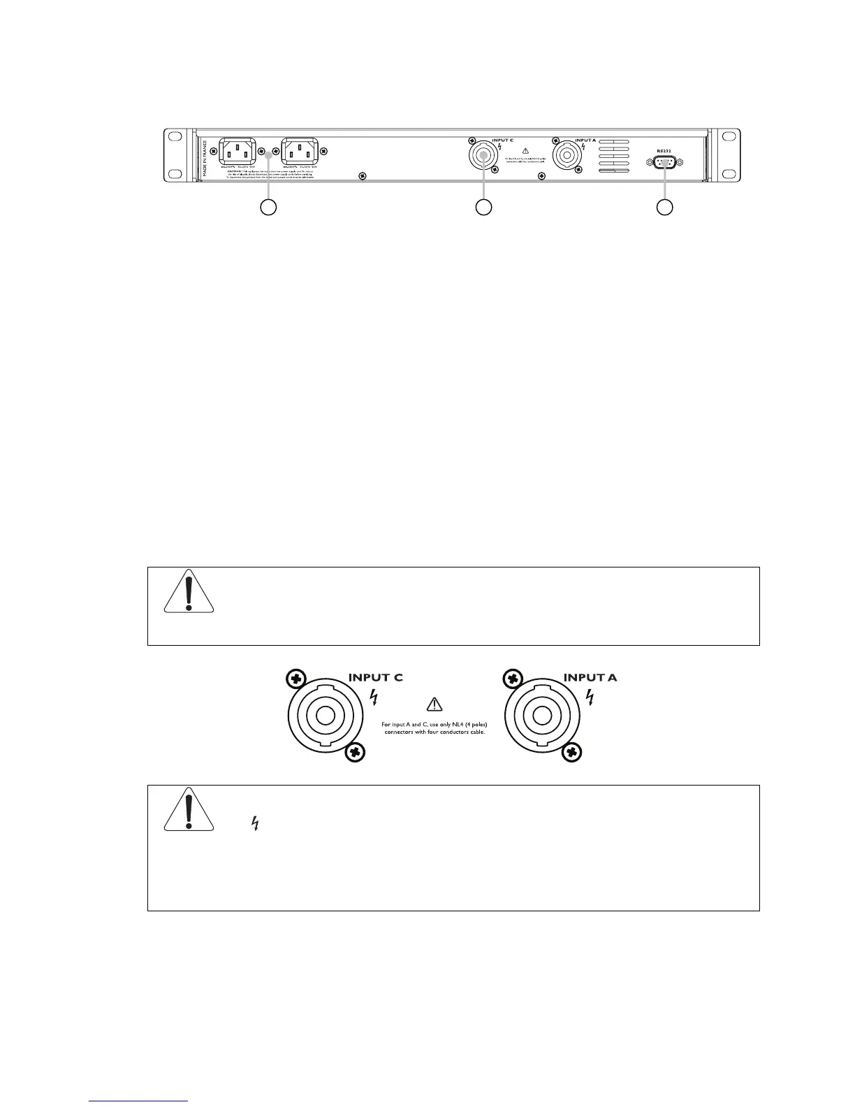
Back panel description
1 2
3
(1) Mains connectors
There are two mains connectors on the DPU. These two connectors lead to two fully
redundant power supplies for redundancy purpose, meaning that the DPU can still work
even if one main is missing or in the very unlikely case that a power supplies fails.
Be sure to connect the two mains input to separate mains circuit to ensure maximum
redundancy.
(2) SpeakON® 4 inputs
These power inputs must be connected to the power outputs of the NEXO NXAMP4x4 or
NXAMP4x1 powered TDcontroller.
Connect the NXAMP “Speakon A” output to the DPU “Input A” input.
Connect the NXAMP “Speakon C” output to the DPU “Input C” input.
WARNING: Use 4 x 4 mm² (AWG11) cable and four poles speakON® to connect
NXAMP power outputs to DPU inputs (2 meters / 16 feet max).
This mark indicates a dangerous electrically live terminal. When connecting an
external wire to this terminal, it is necessary either to havea person who have received
appropriate guidance on handling” make the connection or to use leads or a cord that have
been manufactured in such way that the connection can be made simply and without
problem.
PAGE 112 OF 140

Table of Contents