EasyManua.ls Logo

NIPRO Diagnostics TRUEtrack - Test Strip Vial Label

NIPRO Diagnostics TRUEtrack
42 pages
Print Icon
To Next Page IconTo Next Page
To Next Page IconTo Next Page
To Previous Page IconTo Previous Page
To Previous Page IconTo Previous Page
Loading...
May 30, 2012
1
2
3
3
4
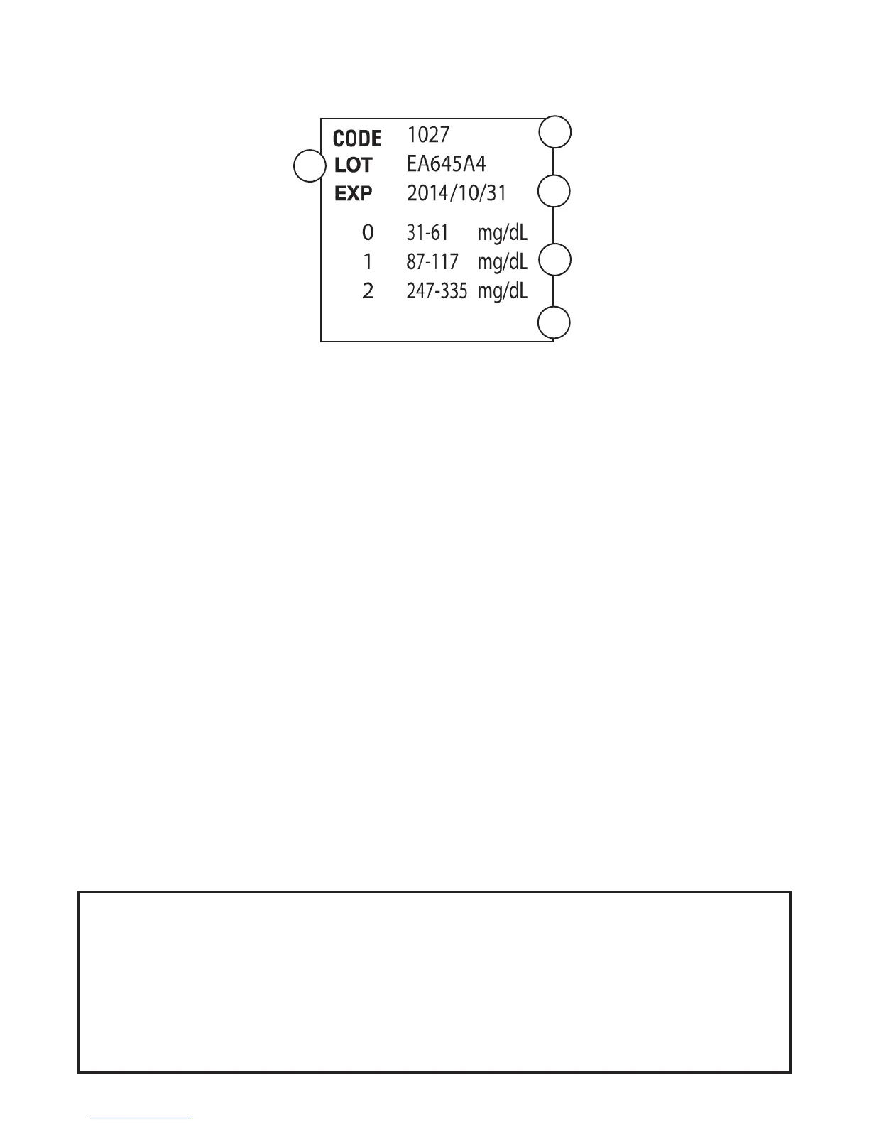
Test Strip Vial Label
Code - Match Code in Meter Display with Code
on Code Chip and Code on Test Strip vial label
before testing. All Codes MUST match for
accurate results.
Lot Number (LoT) - Used for identification
when calling for assistance.
Expiration Dates (EXP) - Write date first
opened on vial label. Discard vial and unused
Test Strips 120 days after written date or date
printed next to EXP, whichever comes first.
Control Range - Range of numbers in which
Control Test result must fall to assure System is
working properly.
Caution! Use of Test Strips or Glucose Control
past the Expiration Dates may give
incorrect test results. Discard out-of
date products and test with new
products.
12

Related product manuals