EasyManua.ls Logo

NORMARC NM 7000 Series - Monitor Alignment and Calibration; General; RF Input Level Adjustment

Default Icon
189 pages
Print Icon
To Next Page IconTo Next Page
To Next Page IconTo Next Page
To Previous Page IconTo Previous Page
To Previous Page IconTo Previous Page
Loading...
1250$5&
 1DYLD$YLDWLRQ$6
,167580(17/$1',1*6<67(0
,167$//$7,21&200,66,21,1*+$1'%22.
For details, refer to the adjustment procedure for each antenna system.
1.4 Monitor Alignment and Calibration.
TEST EQUIPMENT REQUIRED:
Oscilloscope, general purpose
NM 3710 Field Test Set (with 20 dB attenuator)
BNC Test Cable
Digital Voltmeter, 4 digits, DC
1.4.1 General:
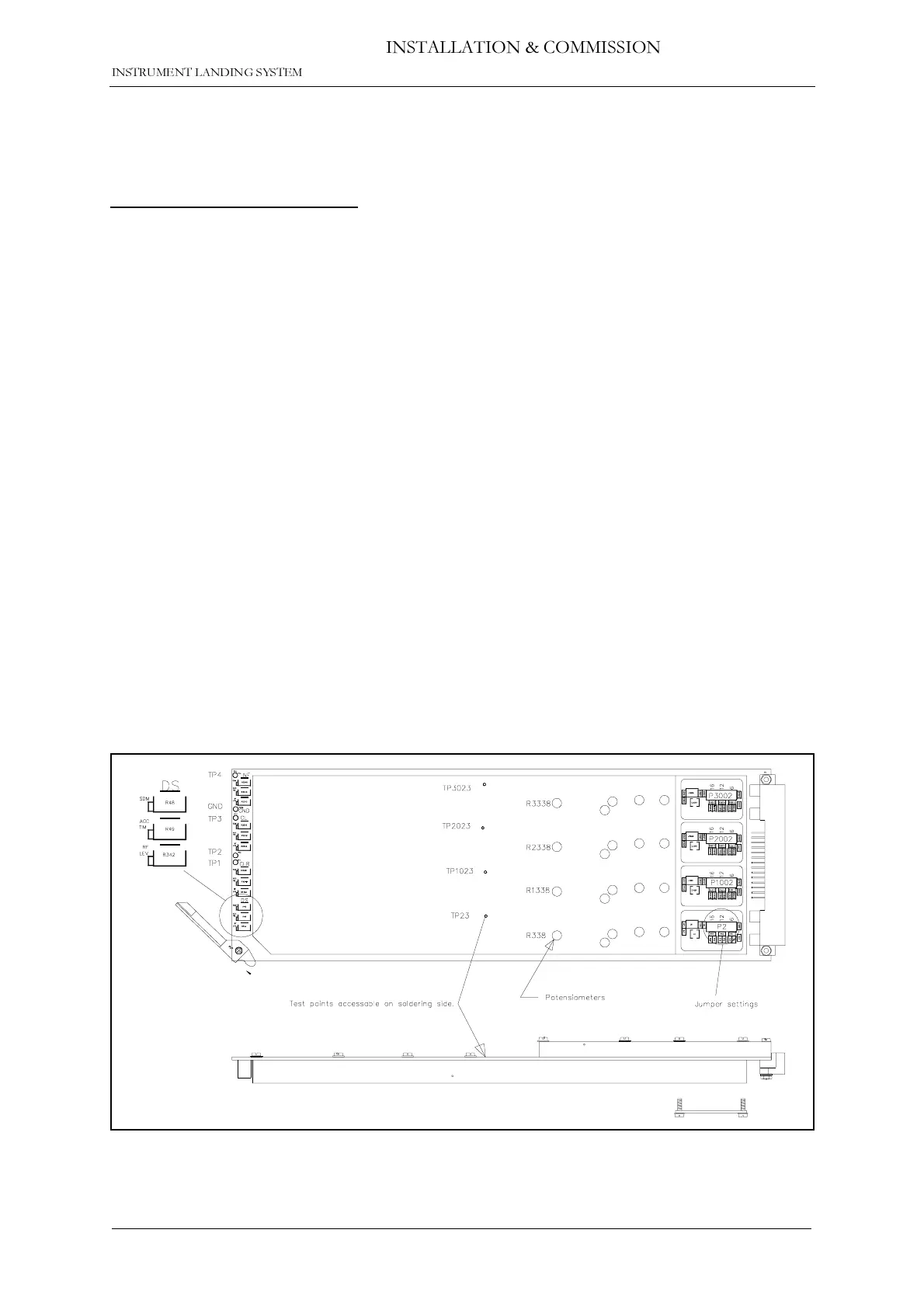
Description is given only for the DS channels. R338++ means that the other channels has
numbers R1338, R2338 and R3338 for CL, CLR and NF channels.
Before any monitor adjustments are attempted, the following procedures shall be completed:
Transmitter calibrations
Network alignments
It is imperative for the result that the signals from the Monitor Combining Network (MCU) are
correct. Check these signals with the NM3710, Field Test Set,It will be these signals which we
use for aligning the monitors.
1.4.2 RF Input Level Adjustment.
Put the MF12xx on an extender card.
Turn on the transmitters.
Set the potmeter SR338++ in middle position. See Figure 1-6
.
Figure 1-6 Adjustment points on MF12xx.

Table of Contents