EasyManua.ls Logo

NTI FTG 600 - Page 13

NTI FTG 600
88 pages
Print Icon
To Next Page IconTo Next Page
To Next Page IconTo Next Page
To Previous Page IconTo Previous Page
To Previous Page IconTo Previous Page
Loading...
FTG Installation & Operation Manual
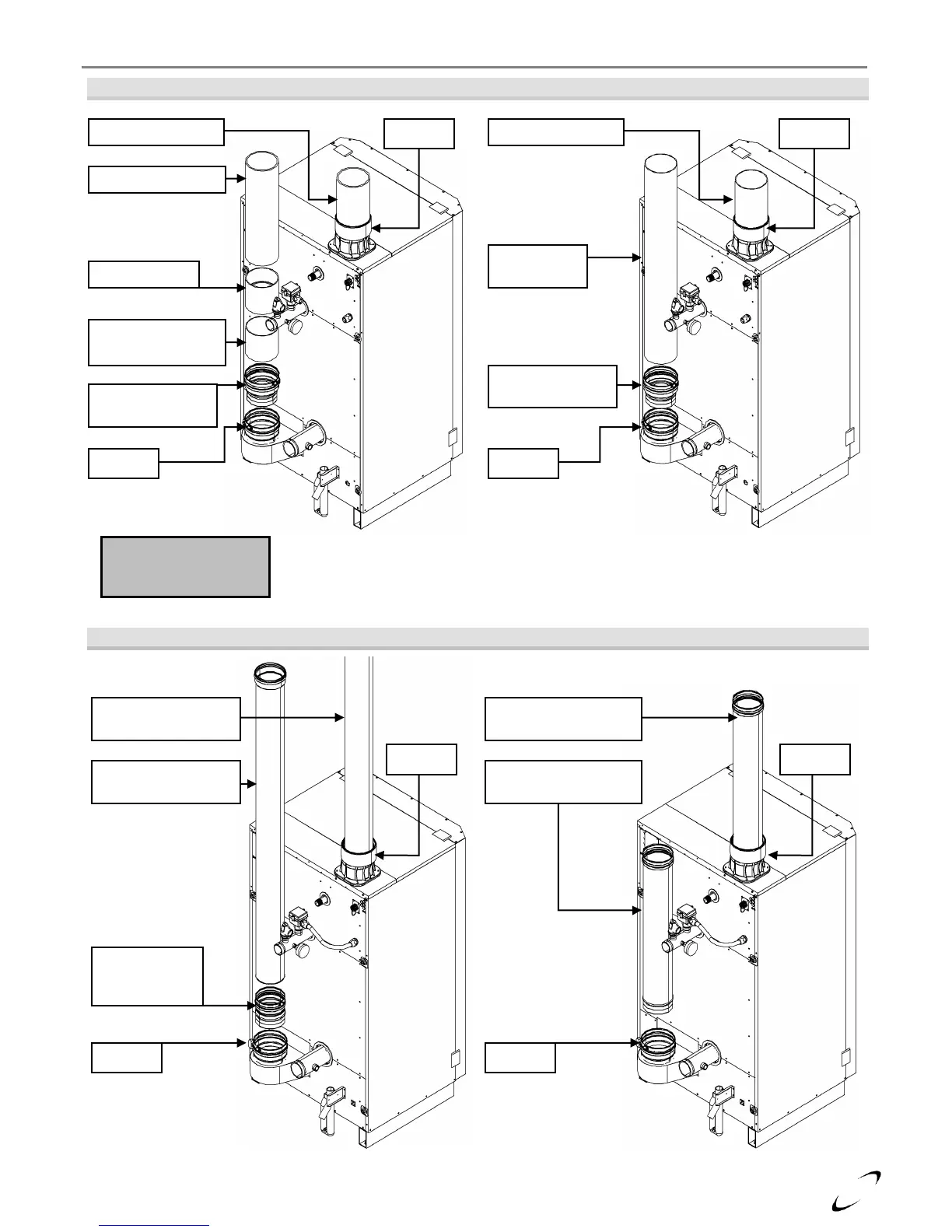
Figure 4-1(a) Near Boiler Venting (PVC)
Figure 4-1(b) Near Boiler Venting (CPVC)
Figure 4-1(c) Near Boiler Venting (PP)
Figure 4-1(d) Near Boiler Venting (SS)
Air-inlet - check with applicable local codes for acceptable pipe material.
Adapter to CPVC
(see Table 4-3)
PVC Air-inlet Pipe*
CPVC
Exhaust-vent
Air-inlet
Exhaust
Adapter to PP
(field supplied
see Table 4-3)
PP Air-inlet Pipe
(PolyPro® illustrated)
Air-inlet
Exhaust
PP Exhaust-vent
(PolyPro® illustrated)
SS Air-inlet Pipe
(FasNSeal® illustrated)
Air-inlet
Exhaust
SS Exhaust-vent
(FasNSeal® illustrated)
CPVC Transition
Pipe (see Table 4-2)
Adapter to CPVC
(see Table 4-3)
**CPVC Transition Pipe
is mandatory when
venting with PVC
PVC Coupling
PVC Air-inlet Pipe*
PVC Exhaust-vent
Air-inlet
Exhaust

Other manuals for NTI FTG 600

Related product manuals