EasyManua.ls Logo

NTI Matrix - Page 18

Default Icon
72 pages
Print Icon
To Next Page IconTo Next Page
To Next Page IconTo Next Page
To Previous Page IconTo Previous Page
To Previous Page IconTo Previous Page
Loading...
Matrix Installation and Operation Instructions
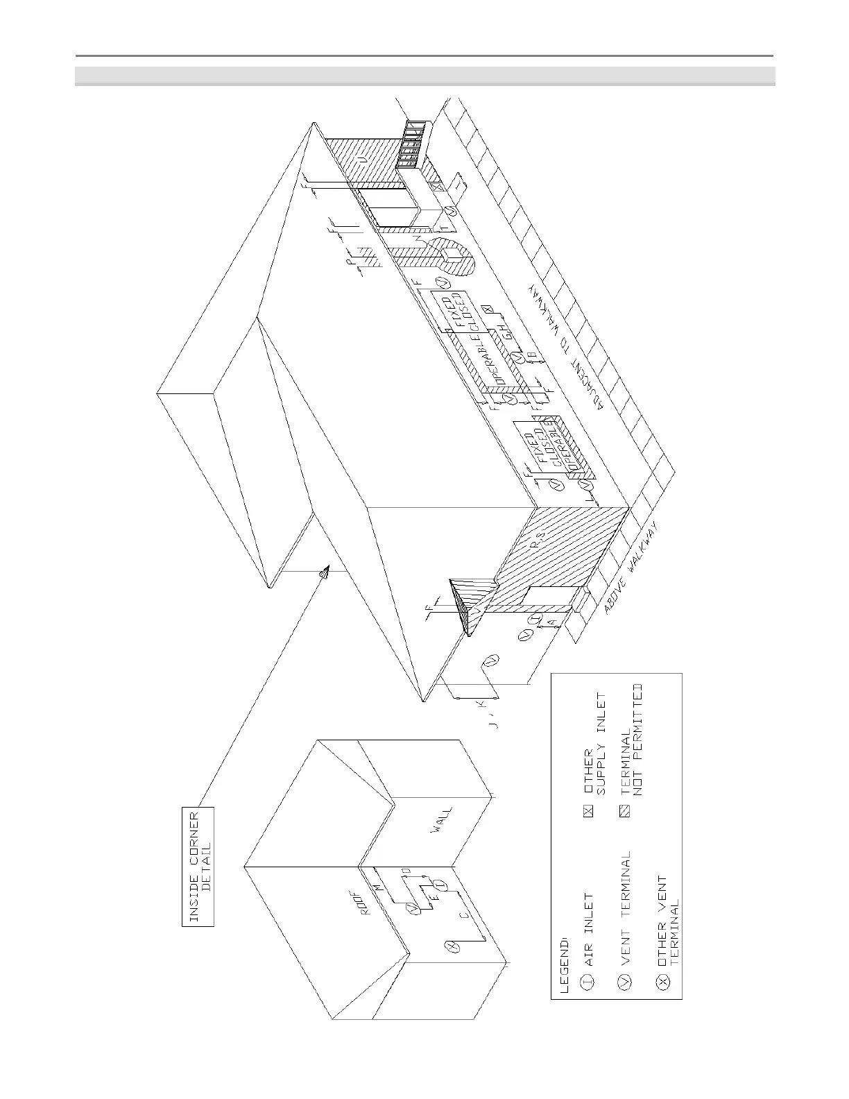
Figure 5-1 Termination Clearances Quick Reference Diagram

Related product manuals