EasyManua.ls Logo

NTI Matrix - Page 30

Default Icon
72 pages
Print Icon
To Next Page IconTo Next Page
To Next Page IconTo Next Page
To Previous Page IconTo Previous Page
To Previous Page IconTo Previous Page
Loading...
Installation and Operation Instructions Matrix
30
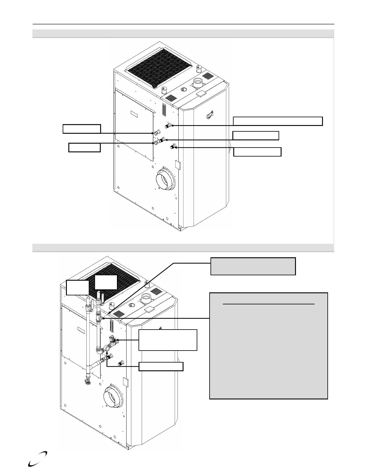
Figure 10-1 Fitting Identification
Figure 10-2 Near Boiler Piping
Supply
Water
Low Water Cutoff Location
(when required see above)
Install the LWCO in a suitable tee (reference
installation instructions provided with the
LWCO), located in a vertical flow pipe in the
boiler outlet piping, at a level at least as high
as the top of the boiler cabinet (see
illustration). DO NOT install isolation valves
between the boiler outlet connection and the
LWCO. The LWCO switch must be wired to
break the boiler limit circuit or line power to the
boiler.
When the installation is complete, TEST THE
LWCO to ensure the burner shuts down when
the water level drops.
LWCO Must be at least as
high as the top of the boiler
Return
Water
Pressure Relief Valve
pipe discharge down
to avoid scald hazard
Pressure Gauge
Boiler Outlet
Boiler Inlet
Pressure Relief Valve Connection
DHW Inlet (Cold)
DHW Outlet (Hot)

Related product manuals