EasyManua.ls Logo

Oemtools 24893 - Product Maintenance and Storage; Product Maintenance and Cleaning; Storage and Disposal

Oemtools 24893
8 pages
Print Icon
To Next Page IconTo Next Page
To Next Page IconTo Next Page
To Previous Page IconTo Previous Page
To Previous Page IconTo Previous Page
Loading...
6
Operating Instructions and Parts Manual 24893 / 24894
9/17
2017 OEMTOOLS
24"/30" OUTDOOR OSCILLATING
WALL MOUNT FAN
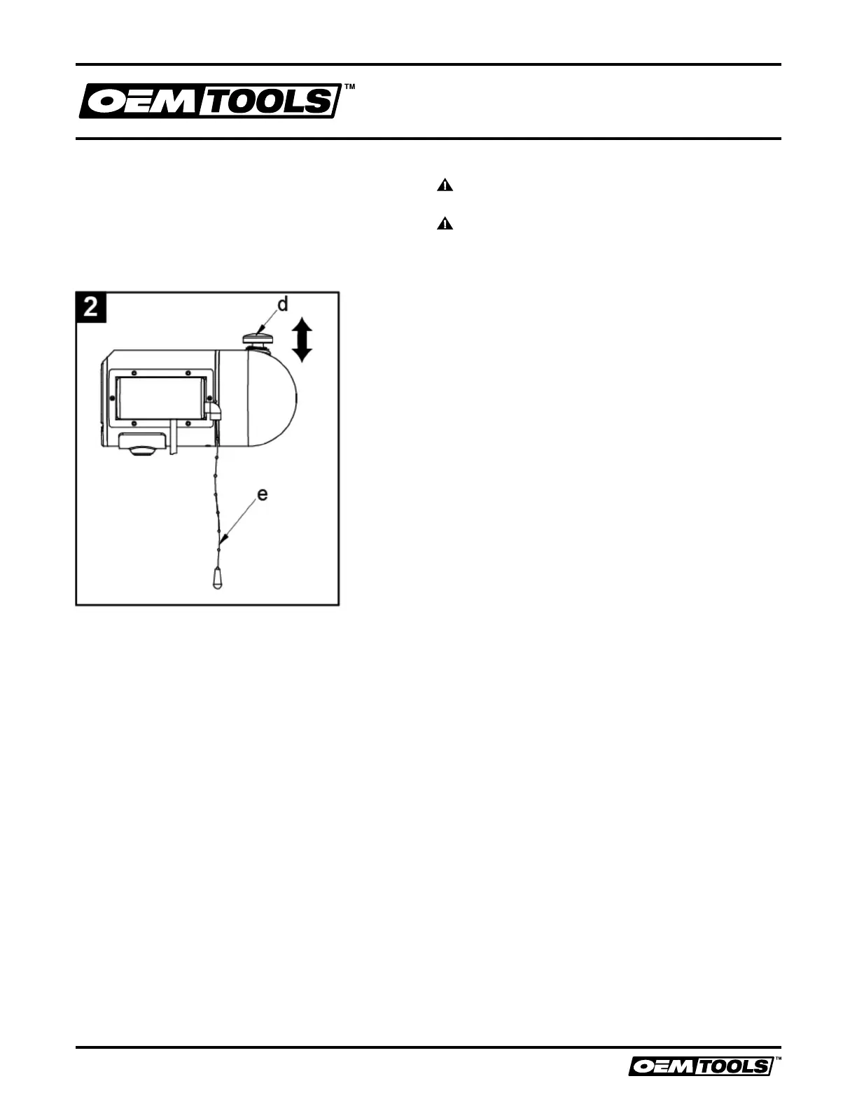
4. Adjust to the desired speed by pulling the
chain (e):
0 – OFF
1 – Low
2 – Medium
3 – High
NOTE: To extend the life of the fan motor, allow
the fan to run for at least one minute at each
setting before moving to the next setting.
5. Press the oscillation knob (d) for oscillating
function. Pull the oscillation knob (d) to lock the
fan to the desired position.
6. Turn the fan to OFF before unplugging from the
electrical outlet.
STORAGE
Store the Outdoor Oscillating Fan in an upright
position and in a clean, dry area. DO NOT store
near flammable items or open flames.
PRODUCT MAINTENANCE
WARNING: Unplug the fan before performing
product maintenance.
WARNING: DO NOT use water to clean the
fan motor. While the product is water resistant,
excessive water may lead to product malfunction.
Use a vacuum cleaner to remove dust from
the protective fan guard and blades. If desired,
remove the front protective fan guard to access
the fan blades. Ensure the protective guard is
securely reattached prior to use.
A damp cloth may be used to wipe the Front
Guard.
DISPOSAL
At the end of the useful life of the OEMTOOLS
24"/30" Outdoor Oscillating Wall Mount Fan,
dispose of the components in accordance with all
federal, state and local regulations.

Related product manuals