EasyManua.ls Logo

Oliver 702 - Assembly Drawing: Model 702 SE

Default Icon
20 pages
Print Icon
To Next Page IconTo Next Page
To Next Page IconTo Next Page
To Previous Page IconTo Previous Page
To Previous Page IconTo Previous Page
Loading...
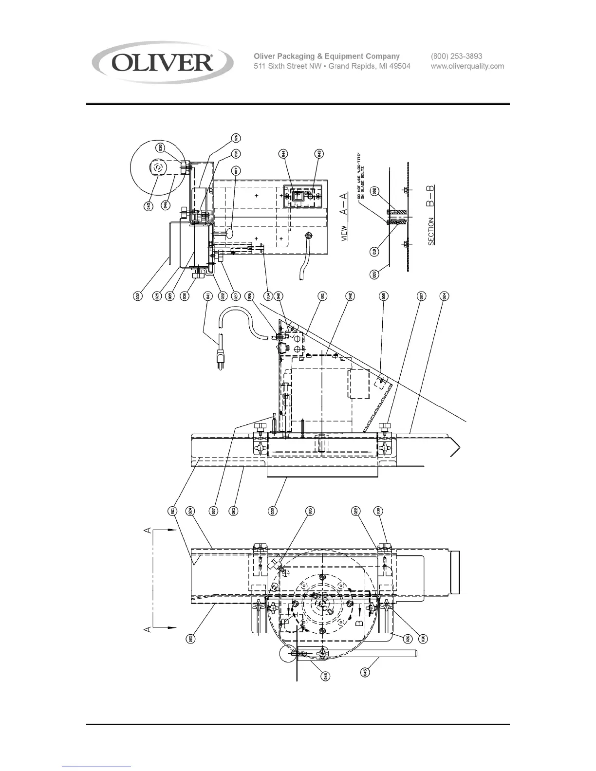
MODEL 702, 702SE and 702SS BUN SLICERS
REV 7/7/10 0702S20029
ASSEMBLY DRAWING MODEL 702SE

Related product manuals