EasyManua.ls Logo

OMAC B Series - Aseptic Rotor Case; Jacketed End Cover and Rotor Case

OMAC B Series
52 pages
Print Icon
To Next Page IconTo Next Page
To Next Page IconTo Next Page
To Previous Page IconTo Previous Page
To Previous Page IconTo Previous Page
Loading...
37
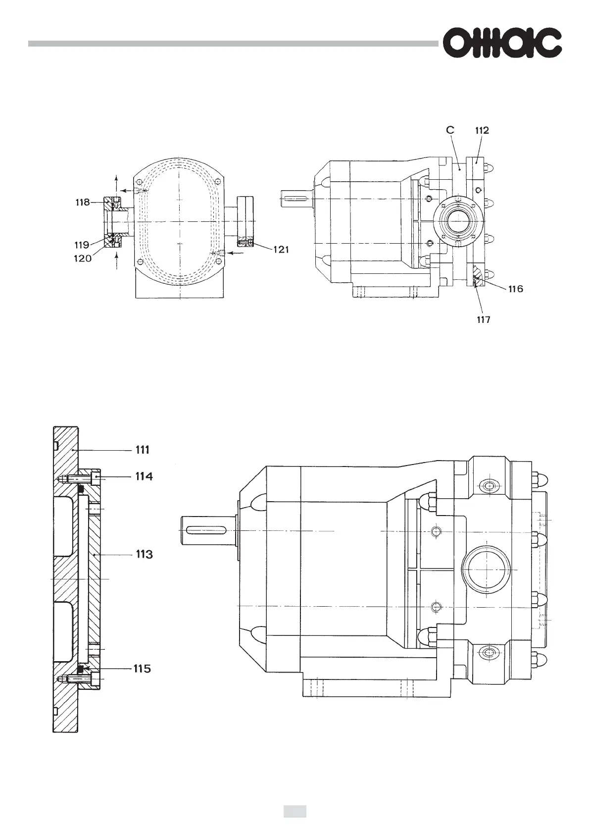
4 - ASEPTIC VERSION ROTOR CASE
5 - JACKETED END COVER AND ROTOR CASE FOR PUMP HEATING OR COOLING
Fig. 36 Jacketed end cover Fig. 37 Jacketed rotor case

Other manuals for OMAC B Series

Related product manuals