EasyManua.ls Logo

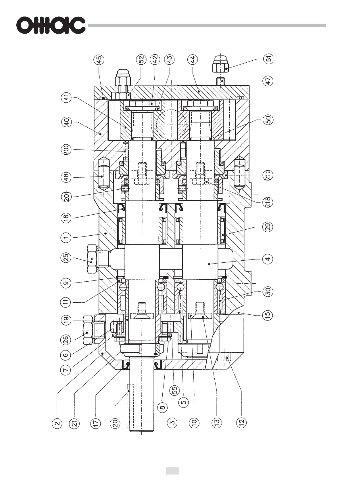
OMAC B Series - Technical Drawing - Pump Type B100

OMAC B Series
52 pages
Print Icon
To Next Page IconTo Next Page
To Next Page IconTo Next Page
To Previous Page IconTo Previous Page
To Previous Page IconTo Previous Page
Loading...
46
Fig. 40 Cross section type B100

Other manuals for OMAC B Series

Related product manuals