EasyManua.ls Logo

Omron CJ1W-DA021 - Page 228

Omron CJ1W-DA021
427 pages
Print Icon
To Next Page IconTo Next Page
To Next Page IconTo Next Page
To Previous Page IconTo Previous Page
To Previous Page IconTo Previous Page
Loading...
205
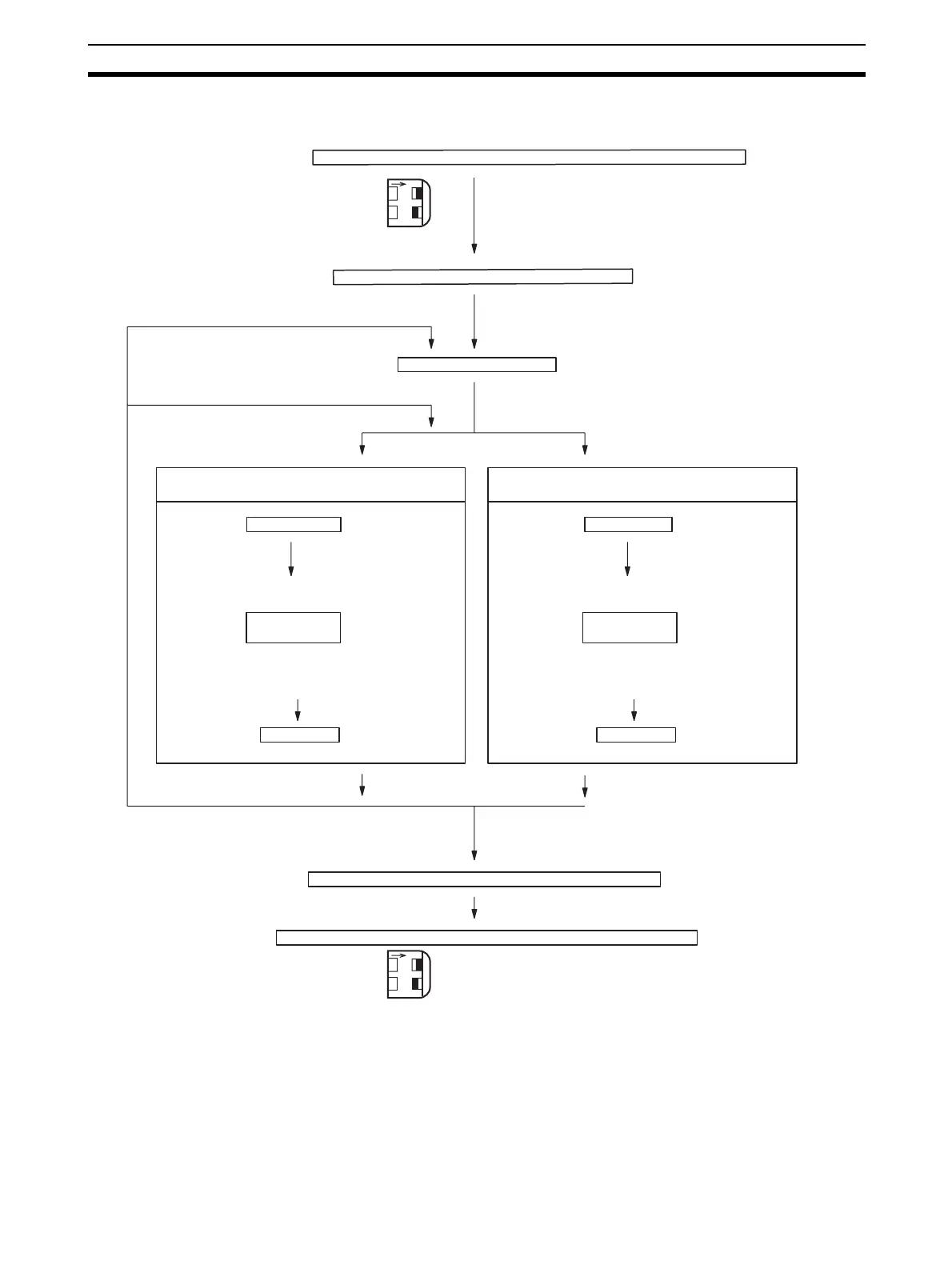
Adjusting Offset and Gain Section 5-7
CJ1W-DA021/041 The following diagram shows the flow of operations when using the adjust-
ment mode for adjusting offset and gain.
!Caution Be sure to turn OFF the power to the PLC before changing the setting of the
operation mode switch.
Set the operation mode switch to adjustment mode
Turn ON the PLC and the external power supply.
When adjusting another output number
When adjusting the same output number
Set the output number.
Offset adjustment
Offset Bit ON
Set Bit ON
Turn OFF power to the PLC and the external power supply.
Set the operation mode switch to normal mode.
The ADJ indicator will flash while in adjustment mode.
Start up the PLC in PROGRAM mode.
Gain adjustment
Gain Bit ON
Output adjustment
Set Bit ON
Output adjustment
O
N
12
MODE
ON
OFF
O
N
12
MODE
ON
OFF
Set the operation mode switch on the DIP switch
on the back panel of the Unit to adjustment mode.
Write the output number to be adjusted
in the rightmost byte of CIO word n.
(Bit 0 of CIO word
n+1 turns ON.)
Adjustment
value setting
(Bits 2 and 3 of
CIO word n+1
turn ON.)
(Bit 4 of CIO word
n+1 turns ON.)
(Bit 1 of CIO word
n+1 turns ON.)
Adjustment
value setting
(Bits 2 and 3 of
CIO word n+1
turn ON.)
(Bit 4 of CIO word
n+1 turns ON.)
Set the operation mode switch on the DIP switch
on the back panel of the Unit to normal mode.

Table of Contents

Related product manuals