EasyManua.ls Logo

Omron CJ2M-CPU35 - Page 56

Omron CJ2M-CPU35
82 pages
Print Icon
To Next Page IconTo Next Page
To Next Page IconTo Next Page
To Previous Page IconTo Previous Page
To Previous Page IconTo Previous Page
Loading...
9
Program
53
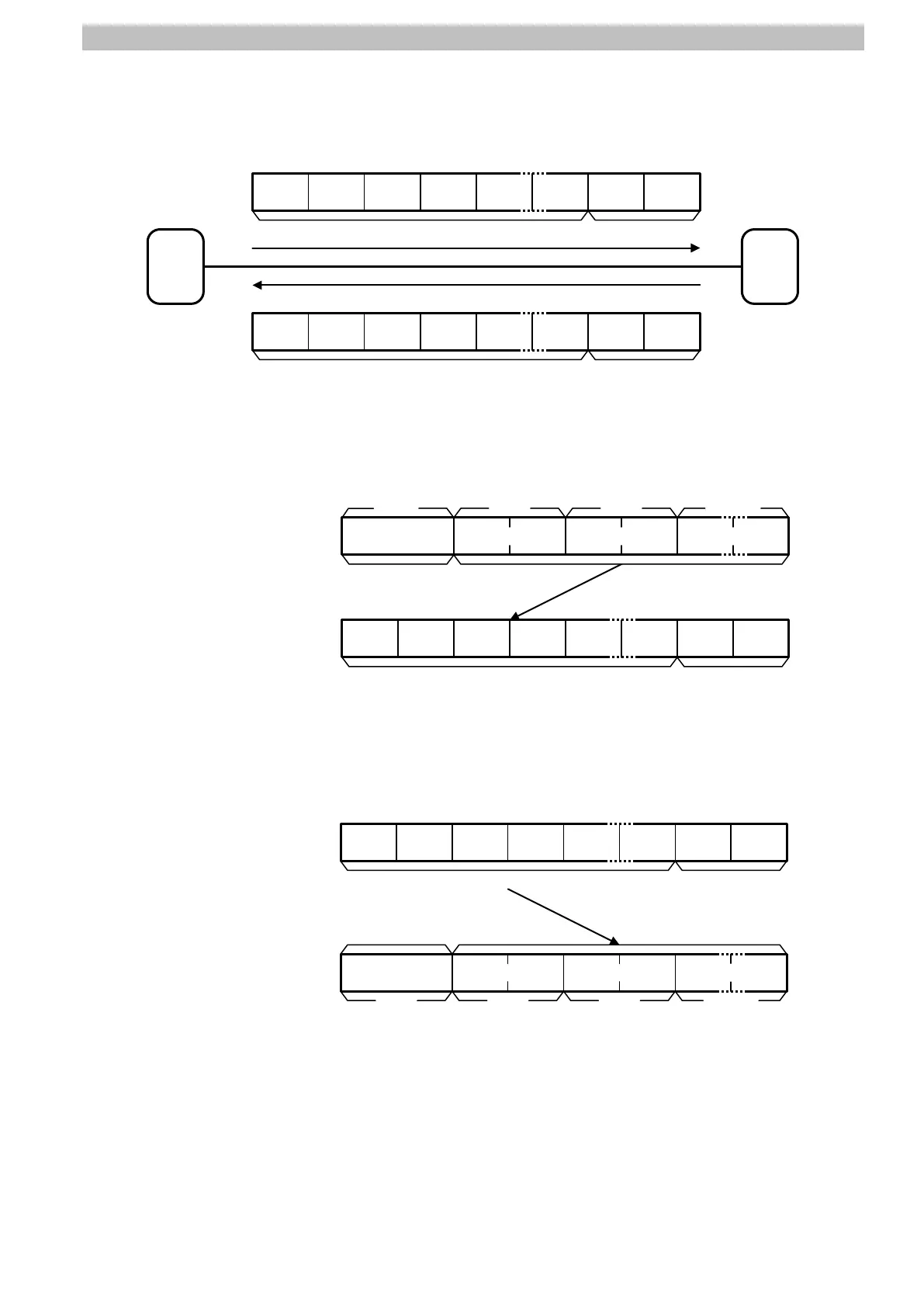
Send/Receive messages
[Frames of send/receive messages]
Send message
PLC
Receive message
Destination
D
evice
CR
LF
*
*
*
*
*
*
Terminator
Data
CR
LF
*
*
*
*
*
*
Data
Terminator
[Relation between send area S (PMCR instruction operand) and send messages]
SCU -> Destination Device
Send message
CPU
->SCU Send areaS
+0 word
+1 word
+2 words
+(n-1) words
*
*
*
*
*
*
*
*
0
15
0
15
0
15
0
15
Bit
*
*
*
*
*
*
*
*
No. of
send area words
CR
LF
*
*
*
*
*
*
Terminator
Data
[Relation between receive messages and receive area D (PMCR instruction operand)]
Destination Device
-> SCU
Receive message
SCU ->CPU
Receive areaD
+0 word
+1 word
+2 words
+(n-1) words
*
*
*
*
*
*
*
*
0
15
0
15
0
15
0
15
Bit
*
*
*
*
*
*
*
*
No. of receive
area words
CR
LF
*
*
*
*
*
*
Terminator
Data

Related product manuals