EasyManua.ls Logo

Omron E5AC - Page 101

Omron E5AC
440 pages
Print Icon
To Next Page IconTo Next Page
To Next Page IconTo Next Page
To Previous Page IconTo Previous Page
To Previous Page IconTo Previous Page
Loading...
2 - 63
2 Preparations
E5@C Digital Temperature Controllers User’s Manual (H174)
2-2 Using the Terminals
2
2-2-10 Wiring
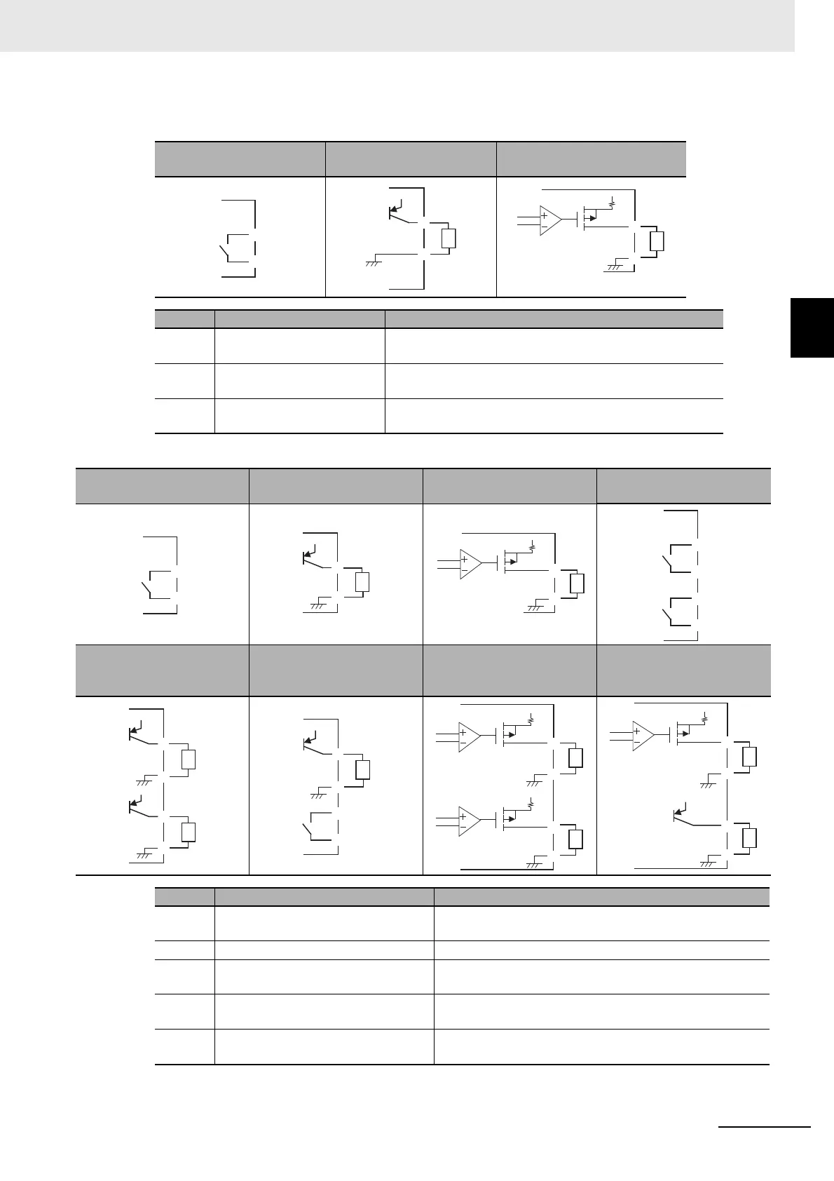
E5CC-B
E5EC/E5AC
RX (relay)
QX (voltage output (for
driving SSR))
CX (linear current output)
Code Output type Specification
RX Relay SPST-NO, 250 VAC, 3 A (resistive load), Electrical
durability: 100,000 operations
QX Voltage output (for driving
SSR)
PNP, 12 VDC ±20%, 21 mA (with short-circuit protection)
CX Llinear current output 4 to 20 mA DC or 0 to 20 mA DC with load of 500 Ω max.,
Resolution: 10,000
RX (relay output)
QX (voltage output (for
driving SSR))
CX (linear current output) RR or PR (2 relays)
QQ (2 voltage outputs (for
driving SSRs))
QR (voltage output (for
driving SSR) and relay
output)
CC (2 linear current
outputs)
CQ (linear current and
voltage output (for driving
SSR))
Code Output type Specification
RX Relay output SPST-NO, 250 VAC, 5 A (resistive load), Electrical life:
100,000 operations
QX Voltage output (for driving SSR) PNP, 12 VDC ±20%, 40 mA (with short-circuit protection)
CX Linear current output 4 to 20 or 0 to 20 mA DC, Load: 500 Ω max., Resolution:
Approx. 10,000
RR or
PR
2 relay outputs SPST-NO, 250 VAC, 5 A (resistive load), Electrical life:
100,000 operations
QQ* 2 voltage outputs
(for driving SSRs)
PNP, 12 VDC ±20%, 21 mA (with short-circuit protection)
A
B
A
B
+
v
+
-
L
+v
+
-
L
A
B
D
C
D
C
+v
+
L
D
C
+v
+
L
D
C
F
E
D
C
F
E
+v
+
L
+v
+
L
D
C
F
E
+v
+
L
+
v
+
L
+
v
+
L
D
C
F
E
D
C
F
E
+
L
+v
+
L
+v

Table of Contents

Other manuals for Omron E5AC

Related product manuals