EasyManua.ls Logo

Omron E5AC - Page 68

Omron E5AC
440 pages
Print Icon
To Next Page IconTo Next Page
To Next Page IconTo Next Page
To Previous Page IconTo Previous Page
To Previous Page IconTo Previous Page
Loading...
2 Preparations
2 - 30
E5@C Digital Temperature Controllers User’s Manual (H174)
Model Numbers
All E5CC-U models have universal sensor inputs, so the code in the model number is always “M.”
Terminal Details
Do not connect anything to the terminals that are shaded gray.
Precautions for Correct Use
When complying with EMC standards, the line connecting the sensor must be 30 m or less. If the
cable length exceeds 30 m, compliance with EMC standards will not be possible.
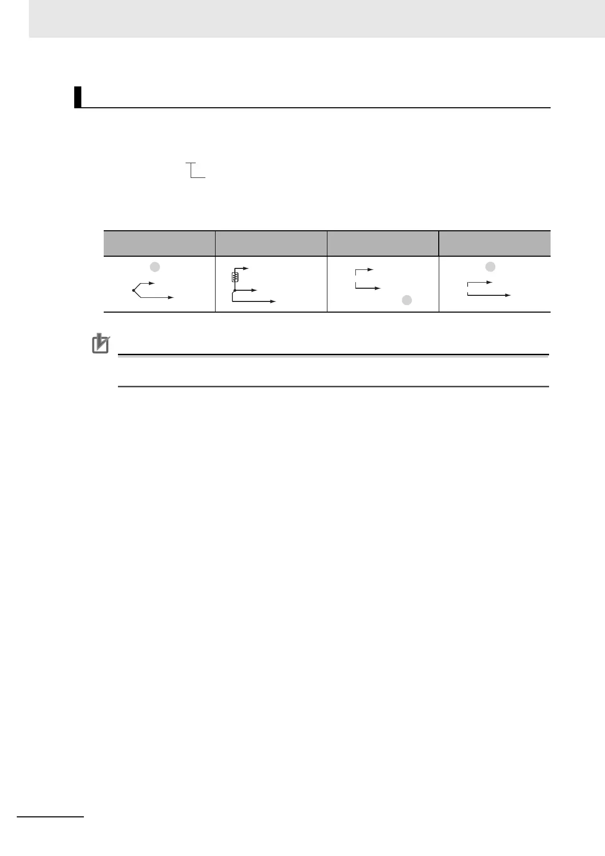
Sensor Input
TC (thermocouple)
Pt (resistance
thermometer)
I (current) V (voltage)
E5CC-@@ @ @ U M-@@@
Sensor input
C
A
B
+
A
A
B
B
C
B
+
mA
C
A
B
C
V
+
A
B

Table of Contents

Other manuals for Omron E5AC

Related product manuals