EasyManua.ls Logo

Omron F3SJ-E P25 Series - Internal (LED) Indicator Display Pattern; Easy Type; Basic Type

Omron F3SJ-E P25 Series
152 pages
Print Icon
To Next Page IconTo Next Page
To Next Page IconTo Next Page
To Previous Page IconTo Previous Page
To Previous Page IconTo Previous Page
Loading...
4
Chapter1 Internal (LED) Indicator Display Pattern
F3SJ-E/B
User’s Manual
Overview and Specifications
Internal (LED) Indicator Display Pattern
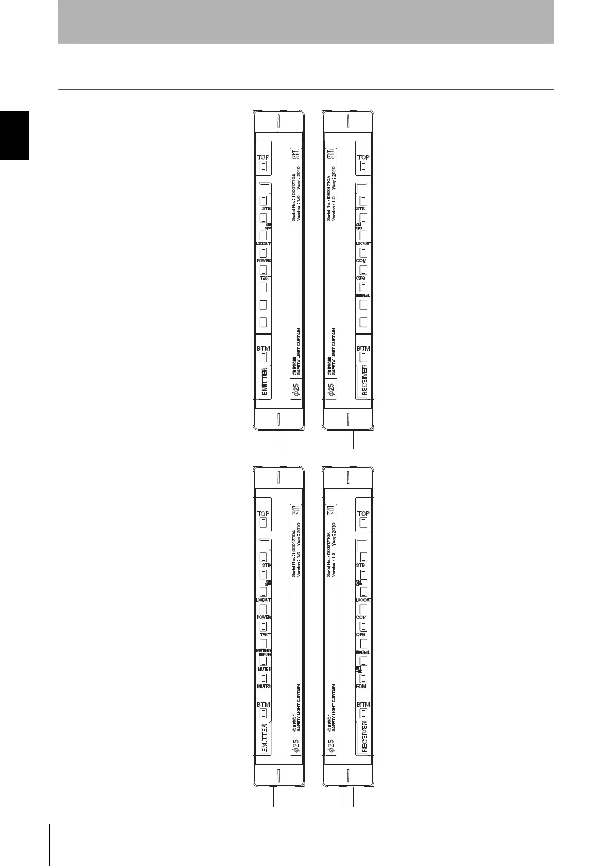
Emitter
Receiver
6. Test indicator (Green)
5. Power indicator (Green)
4. Lockout indicator (Red)
3. ON/OFF-state indicator (Green/Red)
2. Stable-state indicator (Green)
1. Top-beam-state indicator (Blue)
10. Bottom-beam-state indicator (Blue)
4. Lockout indicator (Red)
3. ON/OFF-state indicator (Green/Red)
2. Stable-state indicator (Green)
1. Top-beam-state indicator (Blue)
10. Bottom-beam-state indicator (Blue)
7. Internal error indicator (Red)
6. Configuration indicator (Green)
5. Communication indicator (Green)
Emitter
Receiver
10. Bottom-beam-state indicator (Blue)
9. Muting input 2 indicator (Green)
8. Muting input 1 indicator (Green)
7. Muting error indicator (Green)
6. Test indicator (Green)
5. Power indicator (Green)
4. Lockout indicator (Red)
3. ON/OFF-state indicator (Green/Red)
2. Stable-state indicator (Green)
1. Top-beam-state indicator (Blue)
4. Lockout indicator (Red)
3. ON/OFF-state indicator (Green/Red)
2. Stable-state indicator (Green)
1. Top-beam-state indicator (Blue)
10. Bottom-beam-state indicator (Blue)
9. External device monitoring indicator (Green)
8. Interlock indicator (Yellow)
7. Internal error indicator (Red)
6. Configuration indicator (Green)
5. Communication indicator (Green)
Easy Type
Basic Type

Table of Contents

Related product manuals