EasyManua.ls Logo

Omron F3SJ-E P25 Series - Page 72

Omron F3SJ-E P25 Series
152 pages
Print Icon
To Next Page IconTo Next Page
To Next Page IconTo Next Page
To Previous Page IconTo Previous Page
To Previous Page IconTo Previous Page
Loading...
56
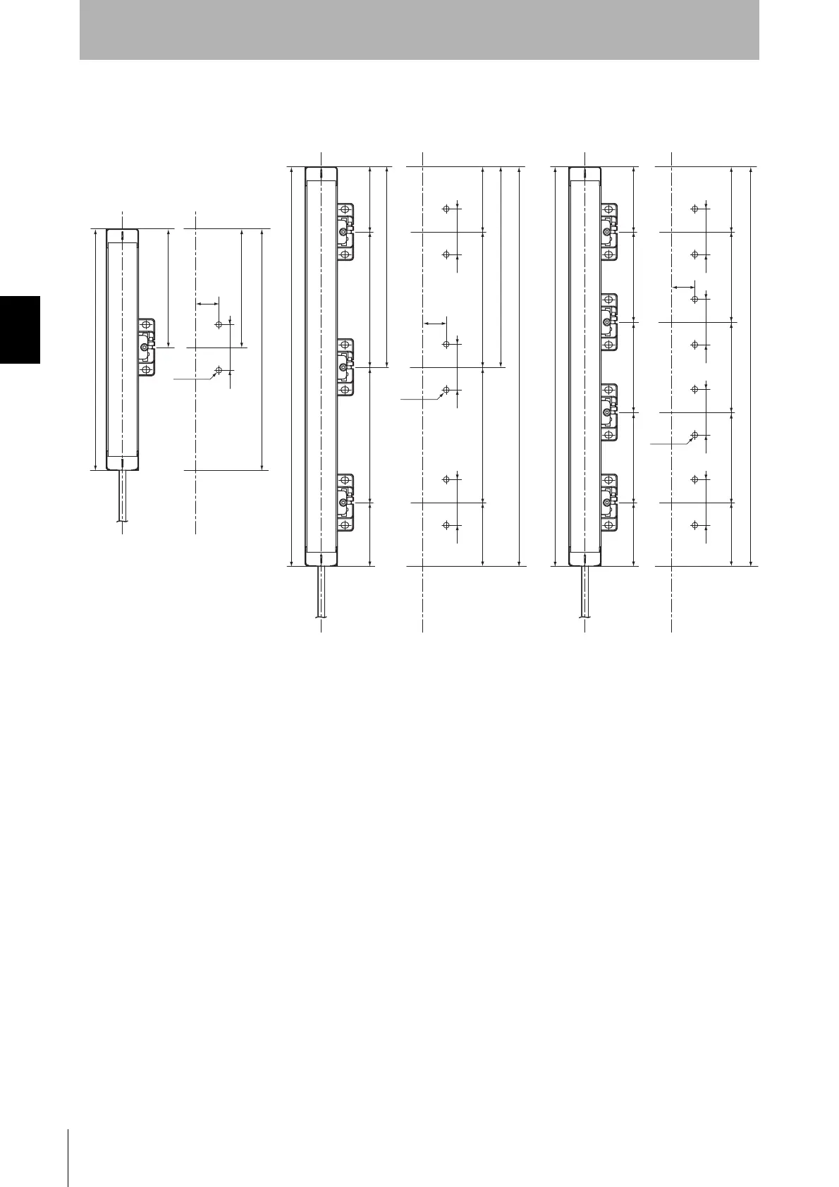
Chapter3 Dimensions
F3SJ-E/B
User’s Manual
Wiring/Installation
22
42
C
C
C
C
C/2
C/2
C/2
FF
FF
C
FFF
C/2
22
42 4242
C
FFF
22
42 4242 42
2-M5
6-M5
8-M5
275 max 275 max
275 max 275 max
275 max 275 max
• Mounting with one Intermediate Bracket • Mounting with three Intermediate Brackets • Mounting with four Intermediate Brackets
[Unit: mm]

Table of Contents

Related product manuals