EasyManua.ls Logo

Omron FH-5550 - Page 208

Omron FH-5550
248 pages
Print Icon
To Next Page IconTo Next Page
To Next Page IconTo Next Page
To Previous Page IconTo Previous Page
To Previous Page IconTo Previous Page
Loading...
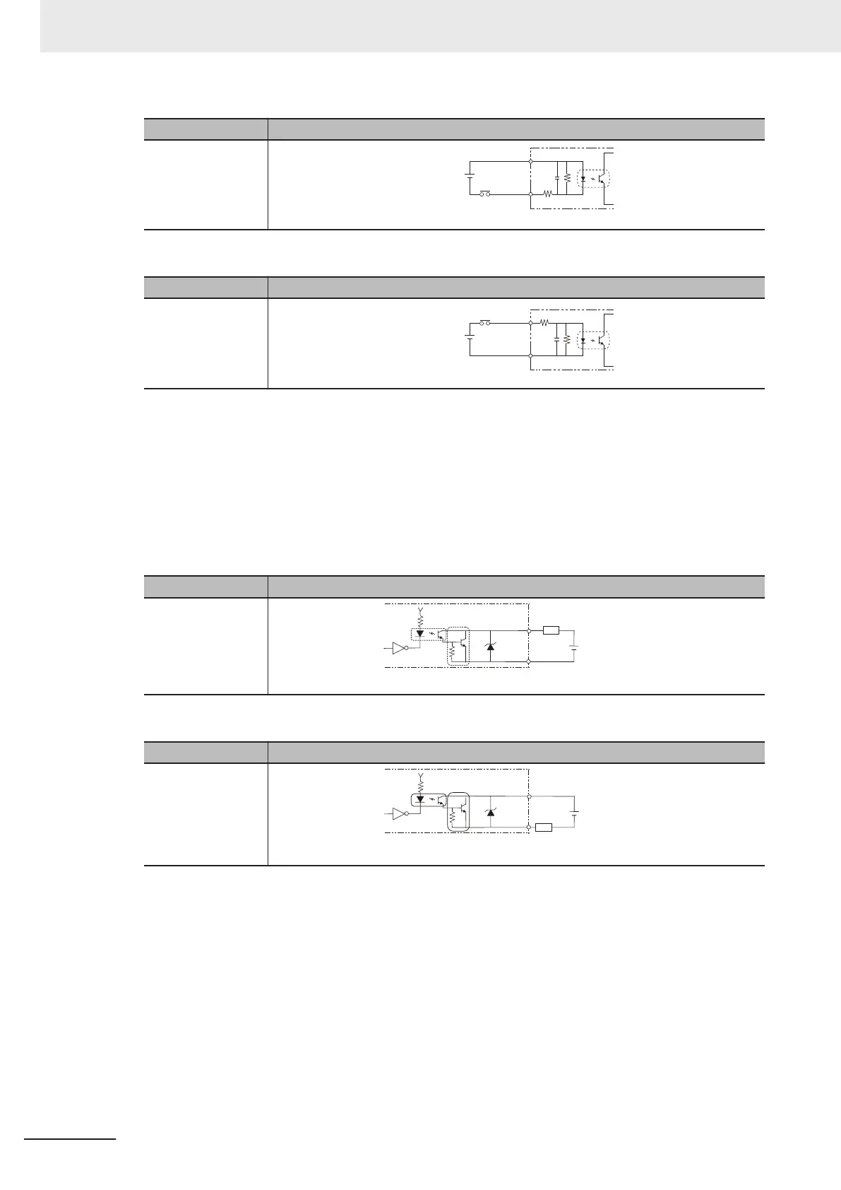
Item Specifications
Internal circuit dia-
gram
COM IN
+
Each input terminal
b) Internal specifications for PNP connection
Item Specifications
Internal circuit dia-
gram
COM IN
+
Each input terminal
l
[Output]
Object signals:
No.15 to 19 pin, No.28 to 32pin: Use the COMOUT0 terminal when using these signals.
No.48 to 57 pins: Use the COMOUT2 terminal when using these signals.
No.58 to 66 pins: Use the COMOUT3 terminal when using these signals.
a) Internal specifications for NPN connection
Item Specifications
Internal circuit dia-
gram
Each output terminal
Load
COM OUT
+
b) Internal specifications for PNP connection
Item Specifications
Internal circuit dia-
gram
COM OUT
+
Each output terminal
Load
l
[Output]
Object signals:
No.20 to 27 pins: Connect the COMOUT1 and COMIN0 terminals when using these signals.
a) Internal specifications for NPN connection
6 I/O Interface
6-10
FH Series Vision System Hardware Setup Manual (Z366-E1)

Table of Contents

Related product manuals