EasyManua.ls Logo

Omron FH-5550 - Page 230

Omron FH-5550
248 pages
Print Icon
To Next Page IconTo Next Page
To Next Page IconTo Next Page
To Previous Page IconTo Previous Page
To Previous Page IconTo Previous Page
Loading...
No. Signal name Color Remark
17 ENC1 Z- Yellow/Red Power CH2 Phase Z (-)
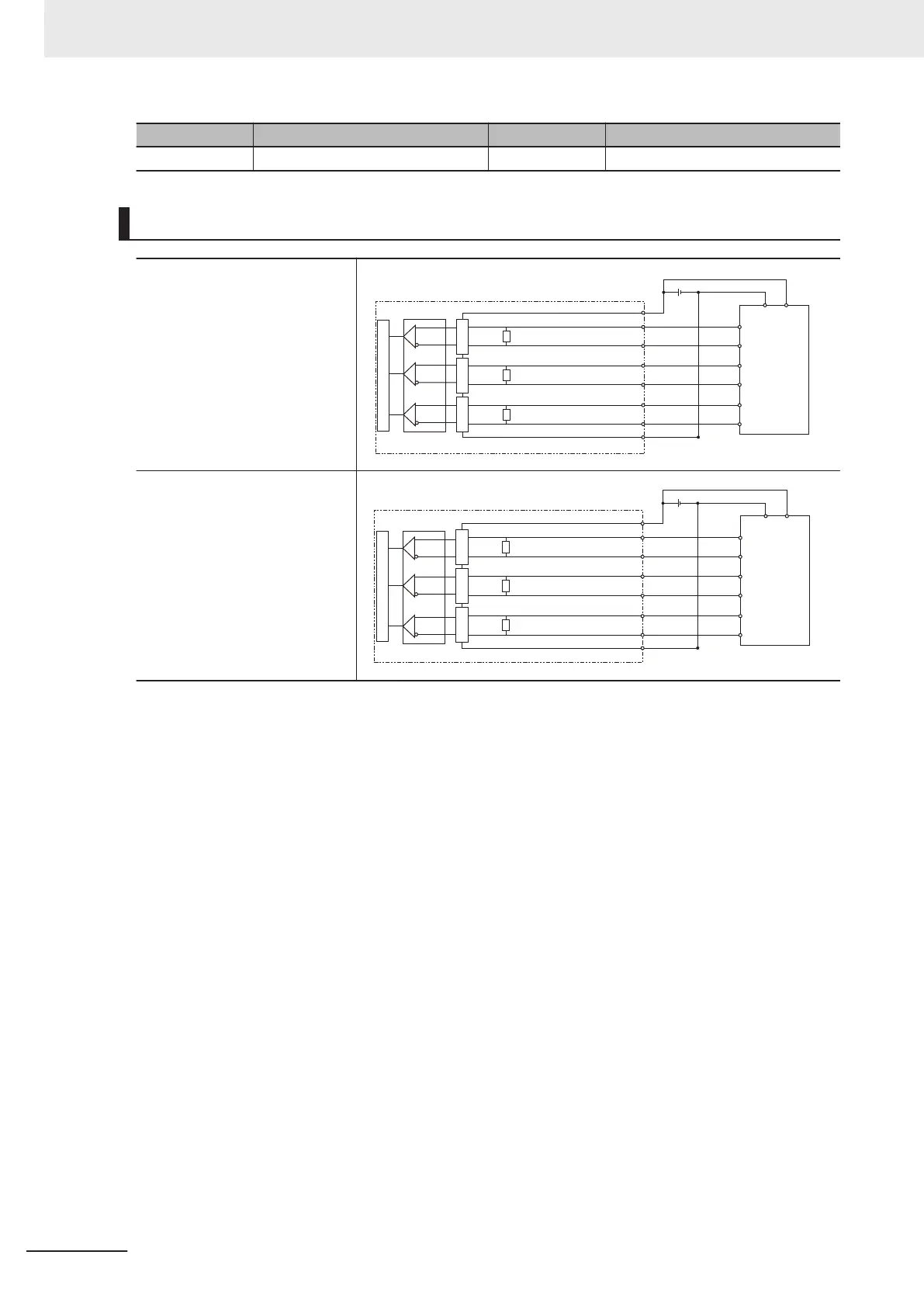
Encoder Circuit Schematics
Line driver input type
CH1 (Line 0)
120 Ω
120 Ω
120 Ω
Brown (ENC0 VDD)
Blue (ENCO GND)
Black (ENCO A+)
White/Red (ENCO B-)
White (ENCO B+)
Orange/Red (ENCO Z-)
Orange (ENCO Z+)
Black/Red (ENC0 A-)
Power supply
-A phase
+A phase
-B phase
+B phase
-Z phase
+Z phase
Line driver encode
r
+
Line driver input type
Encode power supply (5 VDC)
Line receiver
Internal circuit
Input circuitInput circuitInput circuit
Line driver input type
CH2 (Line 1)
Line receiver
Brown/Red (ENC1 VDD)
Blue/Red (ENC1 GND)
Purple (ENC1 A+)
Pink/Red (ENC1 B-)
Pink (ENC1 B+)
Yellow/Red (ENC1 Z-)
Yellow (ENC1 Z+)
Purple/Red (ENC1 A-)
Power supply
-A phase
+A phase
-B phase
+B phase
-Z phase
+Z phase
Line driver encode
r
+
Line driver input type
Encode power supply (5 VDC)
120 Ω
120 Ω
120 Ω
Internal circuit
Input circuitInput circuitInput circuit
6 I/O Interface
6-32
FH Series Vision System Hardware Setup Manual (Z366-E1)

Table of Contents

Related product manuals