EasyManua.ls Logo

Omron R88D-KT30F - Page 400

Omron R88D-KT30F
634 pages
To Next Page IconTo Next Page
To Next Page IconTo Next Page
To Previous Page IconTo Previous Page
To Previous Page IconTo Previous Page
Loading...
6-28
6-7 Gain Switching Function
OMNUC G5-SERIES AC SERVOMOTOR AND SERVO DRIVE USER'S MANUAL
6
Applied Functions
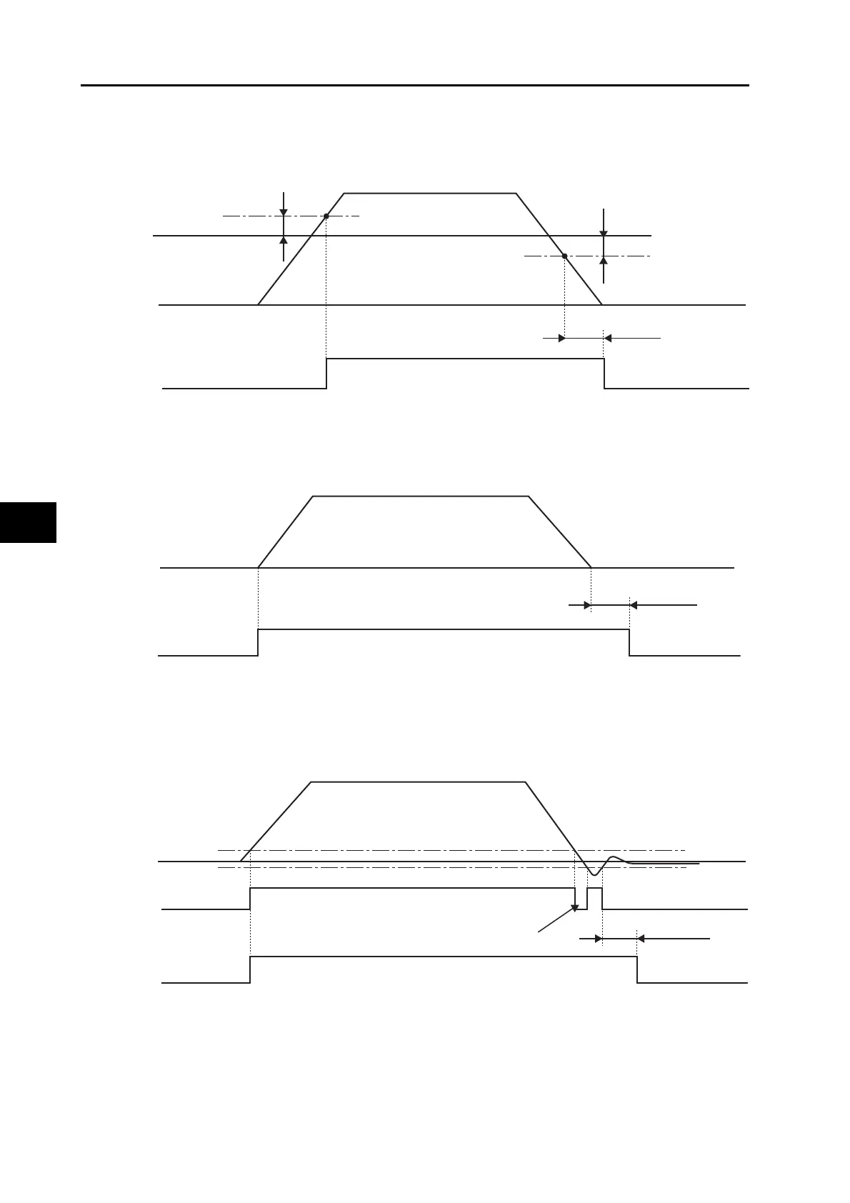
Gain Switching Mode (Pn031) = 6: Switching by Amount of Position Error
Gain switching is performed based on the accumulated count in the error counter.
Gain Switching Mode = 7: Switching by Position Command Received
Gain switching is performed when a position command corresponding to 1 command unit or
more is received.
Gain Switching Mode = 8: Switching by Positioning Completion Signal OFF
Switching to the gain 2 is performed when the error counter accumulated pulse exceeds the
Positioning Completion Range 1 (Pn431).
Gain 1 Gain 1
Gain 2
Amount of position error
Pn118
Pn117
Pn118
Pn116
Gain 1 Gain 1
Gain 2
Pn116
Position command
Gain 1 Gain 1
Gain 2
Pn116
INP1 ON INP1 ON
INP1 OFF
Amount of error counter accumulated pulse
Cancelled because the time conditions are not met

Table of Contents

Related product manuals