EasyManua.ls Logo

Omron R88D-KT50F - Page 490

Omron R88D-KT50F
634 pages
To Next Page IconTo Next Page
To Next Page IconTo Next Page
To Previous Page IconTo Previous Page
To Previous Page IconTo Previous Page
Loading...
8-53
8-6 Extended Parameters
OMNUC G5-SERIES AC SERVOMOTOR AND SERVO DRIVE USER'S MANUAL
8
Parameter Details
Set the overload detection level.
If this setting is 0, the level is set to 115% of nominal torque
Internally there is a limit of 115%, so higher values are limited to 115%
This object is set as a percentage of the rated torque.
Set the overspeed detection level.
The overspeed detection level setting is 1.2 times the maximum motor rotation speed if this
parameter is set to 0.
This parameter should normally be set to 0. The setting should be changed only when it is
necessary to lower the overspeed detection level.
The set value of this parameter is limited to 1.2 times the maximum motor rotation speed.
The detection margin of error for the set value is ±3 r/min for 17 bit absolute encoder and ±36 r/
min for a 20 bit incremental encoder
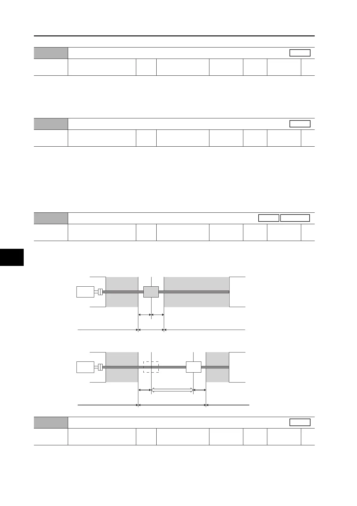
Set the allowable operating range for the position command input range.
If the set value is exceeded, motor operation range setting protection is activated.
When position command is not input
When position command is input
Pn512
Overload Detection Level Setting
Setting
range
0 to 500 Unit %
Default
setting
0
Power OFF
and ON
All
Pn513
Overspeed Detection Level Setting
Setting
range
0 to 20,000 Unit r/min
Default
setting
0
Power OFF
and ON
All
Pn514
Overrun Limit Setting
Setting
range
0 to 1,000 Unit 0.1 rotation
Default
setting
10
Power OFF
and ON
Position
Fully-closed
Motor
Servomotor's allowable
operating range
Alarm generation range Alarm generation range
Pn514 Pn514
Load
Motor
Alarm generation range Alarm generation range
Servomotor's allowable
operating range
Position command
input range
Pn514 Pn514
Load
Pn515
Control Input Signal Read Setting
Setting
range
0 to 3 Unit
Default
setting
0
Power OFF
and ON
Yes
All

Table of Contents

Related product manuals