EasyManua.ls Logo

Omron SYSMAC CJ1W-SCU31-V1 - Page 518

Omron SYSMAC CJ1W-SCU31-V1
781 pages
To Next Page IconTo Next Page
To Next Page IconTo Next Page
To Previous Page IconTo Previous Page
To Previous Page IconTo Previous Page
Loading...
489
E5
@
K Digital Controller Write Protocol Appendix G
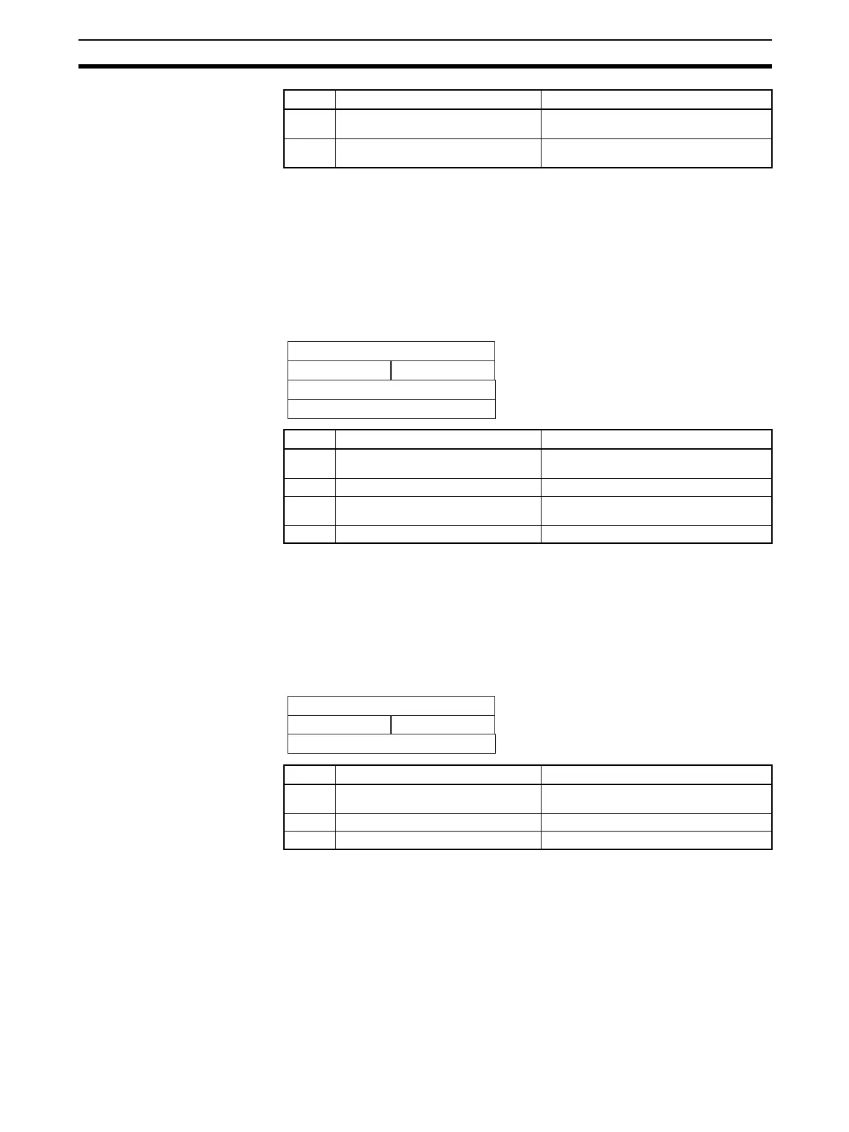
Receive Data Word Allocation (4th Operand of PMCR(260))
None.
Write SP Ramp Time Unit and Set Value (Sequence No. 058 (Hex
003A))
Writes the SP ramp time unit and SP ramp set value.
Send Data Word Allocation (3rd Operand of PMCR(260))
Receive Data Word Allocation (4th Operand of PMCR(260))
None.
Write LBA Detection Time (Sequence No. 059 (Hex 003B))
Writes the LBA detection time.
Send Data Word Allocation (3rd Operand of PMCR(260))
Receive Data Word Allocation (4th Operand of PMCR(260))
None.
+2 Control period (heating)
(4 digits BCD)
0001 to 0099
+3 Control period (cooling)
(4 digits BCD)
0001 to 0099
Offset Contents (data format) Data
+0 Number of send data words
(4 digits Hex)
0004 (fixed)
+1 Unit No. (2 digits BCD) 00 to 31
+2 SP ramp time unit (4 digits BCD) 0000: Minutes
0001: Hours
+3 SP ramp set value (4 digits BCD) 0000 to 9999
Offset Contents (data format) Data
+0 Number of send data words
(4 digits Hex)
0003 (fixed)
+1 Unit No. (2 digits BCD) 00 to 31
+2 LBA detection time (4 digits BCD) 0000 to 9999
Offset Contents (data format) Data
First word of
send data
Number of send data words
+0
+1
+2
+3
(Undefined) Unit No.
SP ramp time unit
SP ramp set value
First word of
send data
Number of send data words+0
+1
+2
(Undefined) Unit No.
LBA detection time

Table of Contents

Related product manuals