EasyManua.ls Logo

Onan RDJC - Control System Overview; Control System Functionality; Control System Maintenance; Typical Standard Engine Wiring Diagram

Onan RDJC
64 pages
Print Icon
To Next Page IconTo Next Page
To Next Page IconTo Next Page
To Previous Page IconTo Previous Page
To Previous Page IconTo Previous Page
Loading...
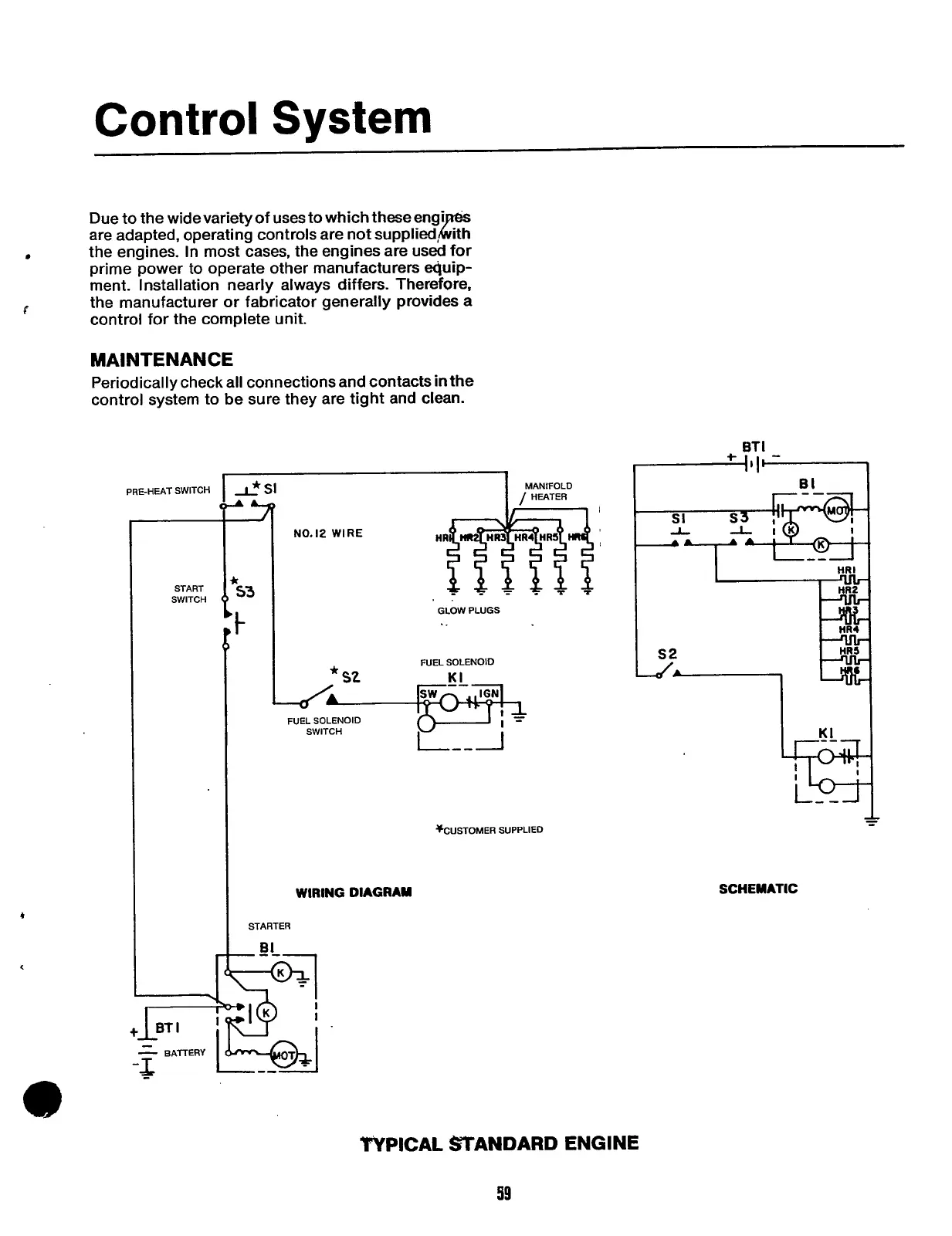
Control
System
Due to the widevarietyof uses
to
which theseengi
prime power to operate other manufacturers equip-
ment. Installation nearly always differs. Therefore,
the manufacturer or fabricator generally provides a
control for the complete unit.
are adapted, operating controls are not supplied,
r
ith
the engines. In most cases, the engines are used for
F
MAINTENANCE
Periodically check all connections and contacts
in
the
control system to be sure they are tight and clean.
PRE-HEAT SWITCH
I
L*
SI
MANIFOLD
/
HEATER
SWITCH
NO.
12
WIRE
STARTER
FUEL SOLENOID
*
sz
FUEL SOLENOID
SWITCH
I
WIRING
DIAGRAM
I
I
-I
+CUSTOMER SUPPLIED
BT
I
I
+
111-
BI
s2
f
SCHEMATIC
"YPICAL
mANDARD
ENGINE
99
Redistribution or publication of this document,
by any means, is strictly prohibited.

Related product manuals