EasyManua.ls Logo

Orion Power Systems DC1000RT - Installation and Setup; Rear Panel Configuration

Orion Power Systems DC1000RT
25 pages
Print Icon
To Next Page IconTo Next Page
To Next Page IconTo Next Page
To Previous Page IconTo Previous Page
To Previous Page IconTo Previous Page
Loading...
3
2. Installation and setup
NOTE: Before installation, please inspect the unit. Be sure that nothing inside the package is
damaged. Please keep the original package in a safe place for future use.
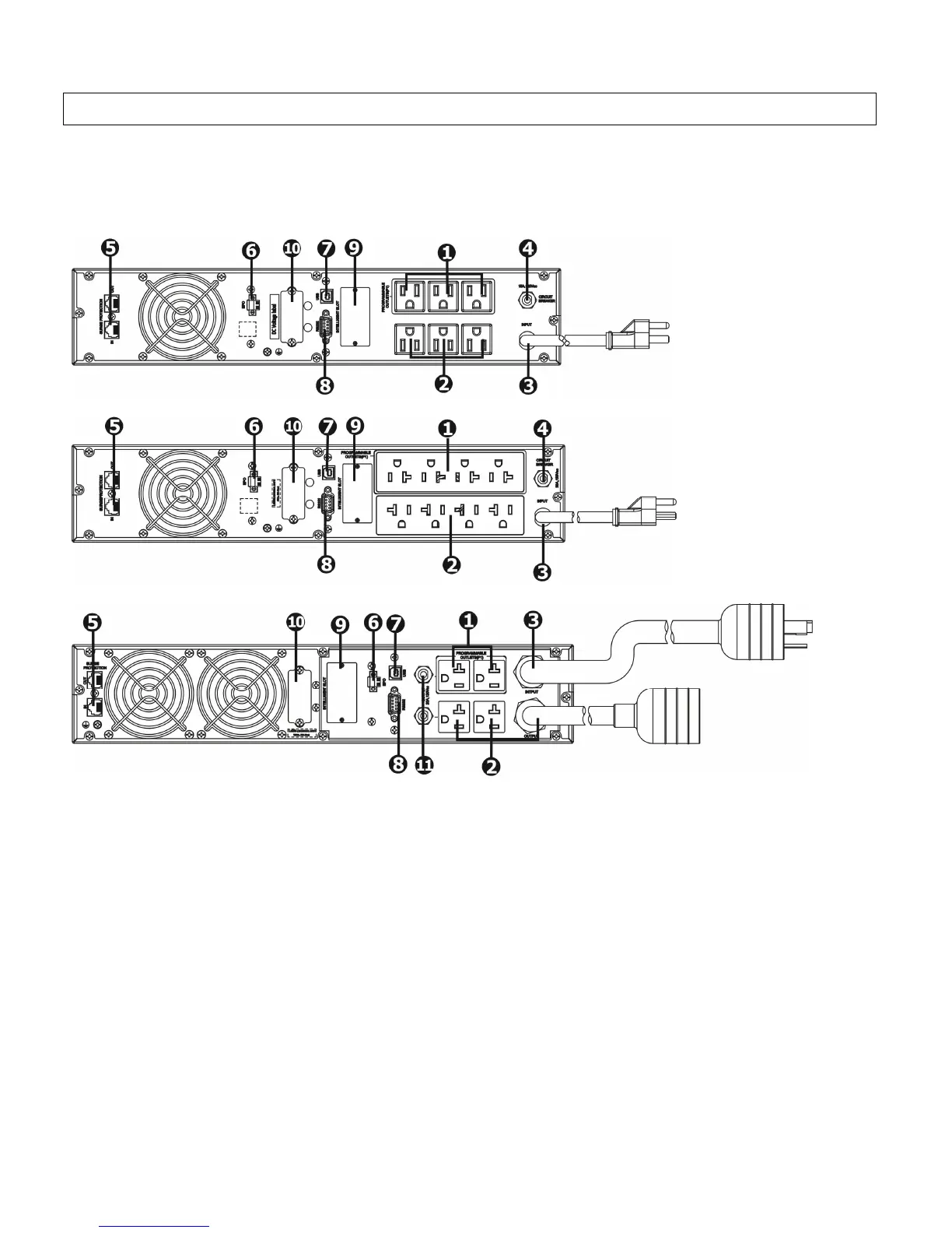
2-1 Rear panel view
1K/1.5K
2K NEMA
3K NEMA
1. Programmable outlets: connect to non-critical loads.
2. Output receptacles: connect to mission-critical loads.
3. AC input
4. Input circuit breaker
5. Emergency power off function connector (EPO)
6. USB communication port
7. RS-232 communication port
8. SNMP intelligent slot
9. External battery connector (only available for X models)
10. Output circuit breaker