EasyManua.ls Logo

Panasonic CS-C12EKF - Outdoor Fan Speed Control

Panasonic CS-C12EKF
50 pages
Print Icon
To Next Page IconTo Next Page
To Next Page IconTo Next Page
To Previous Page IconTo Previous Page
To Previous Page IconTo Previous Page
Loading...
30
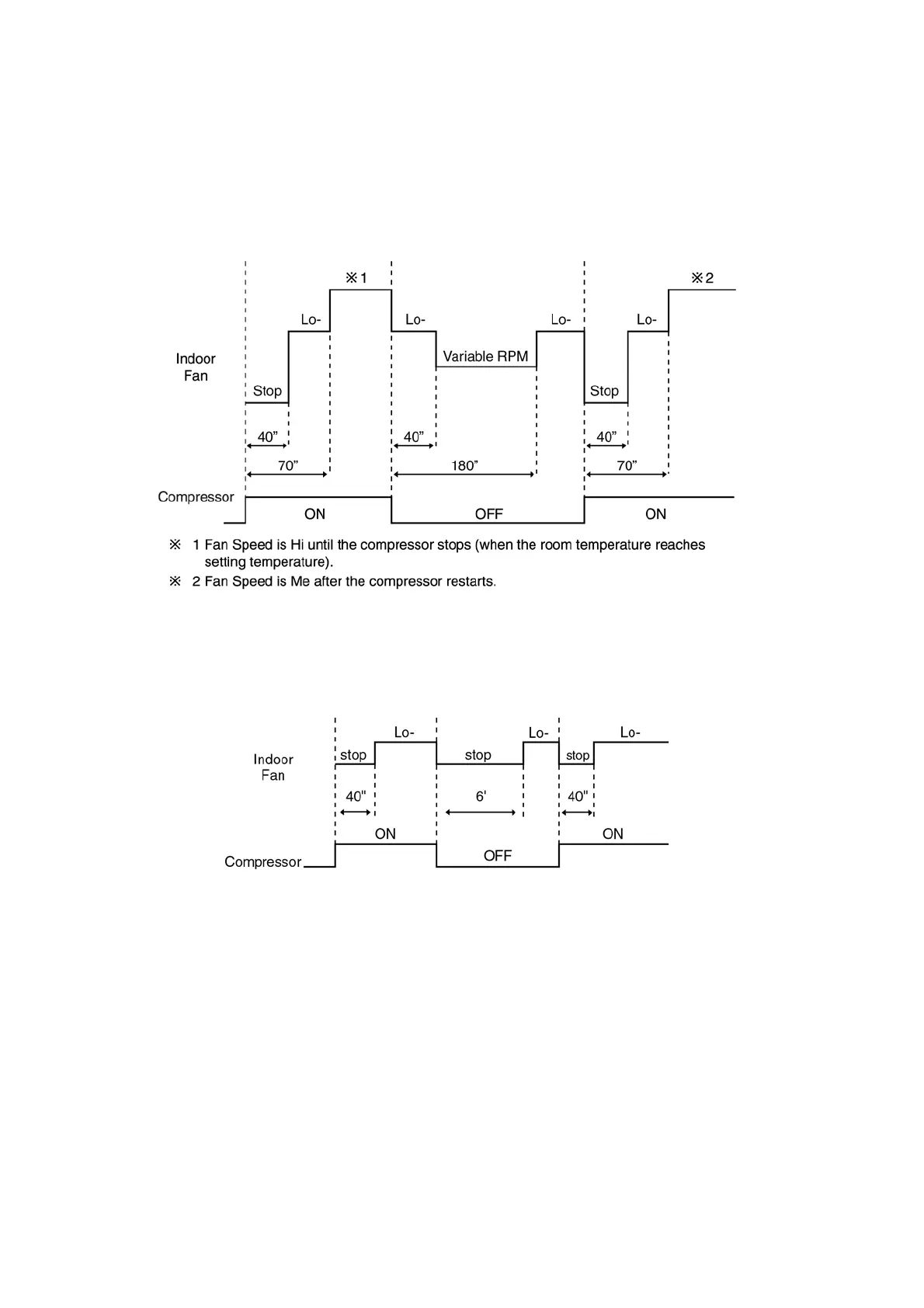
Auto Fan Speed during cooling operation:
1. Indoor fan will rotate alternately between off and on as shown in below diagram.
2. At the beginning of each compressor start operation, indoor fan will increase fan speed gradually for deodorizing purpose.
3. For the first time the compressor operate, indoor fan will be switched to Hi fan speed from Lo- after 70 seconds from the
start of compressor. This cause the room temperature to achieve the setting temperature quickly.
4. During compressor stop, indoor fan will operate at Lo for the beginning 3 minutes to prevent higher volume of refrigerant in
liquid form returning to the compressor.
5. For the resume of compressor operation, indoor fan will operate at Me fan speed to provide comfort and lesser noise envi-
ronment, after 70 seconds from the restart of compressor.
Auto Fan Speed during Soft Dry operation:
1. Indoor fan will rotate alternately between off and Lo-.
2. At the beginning of each compressor start operation, indoor fan will increase fan speed gradually for deodorizing purpose.
3. When compressor at turn off condition for 6 minutes, indoor fan will start fan speed at Lo- to circulate the air in the room.
This is to obtain the actual reading of intake air temperature.
11.5.3. Manual Fan Speed Control
Manual fan speed adjustment can be carried out by using the Fan Speed selection button at the remote control.
There are 3 types of fan speed settings: Lo, Me, Hi.
11.6. Outdoor Fan Speed Control
There is only one speed for outdoor fan motor.
When the air conditioner is turned on, the compressor and the outdoor fan will operate simultaneously.
Likewise, both compressor and outdoor fan will stop at the same time if the unit is turned off.

Related product manuals