EasyManua.ls Logo

Panasonic CS-C9PKV - 6 Refrigeration Cycle Diagram

Panasonic CS-C9PKV
114 pages
To Next Page IconTo Next Page
To Next Page IconTo Next Page
To Previous Page IconTo Previous Page
To Previous Page IconTo Previous Page
Loading...
17
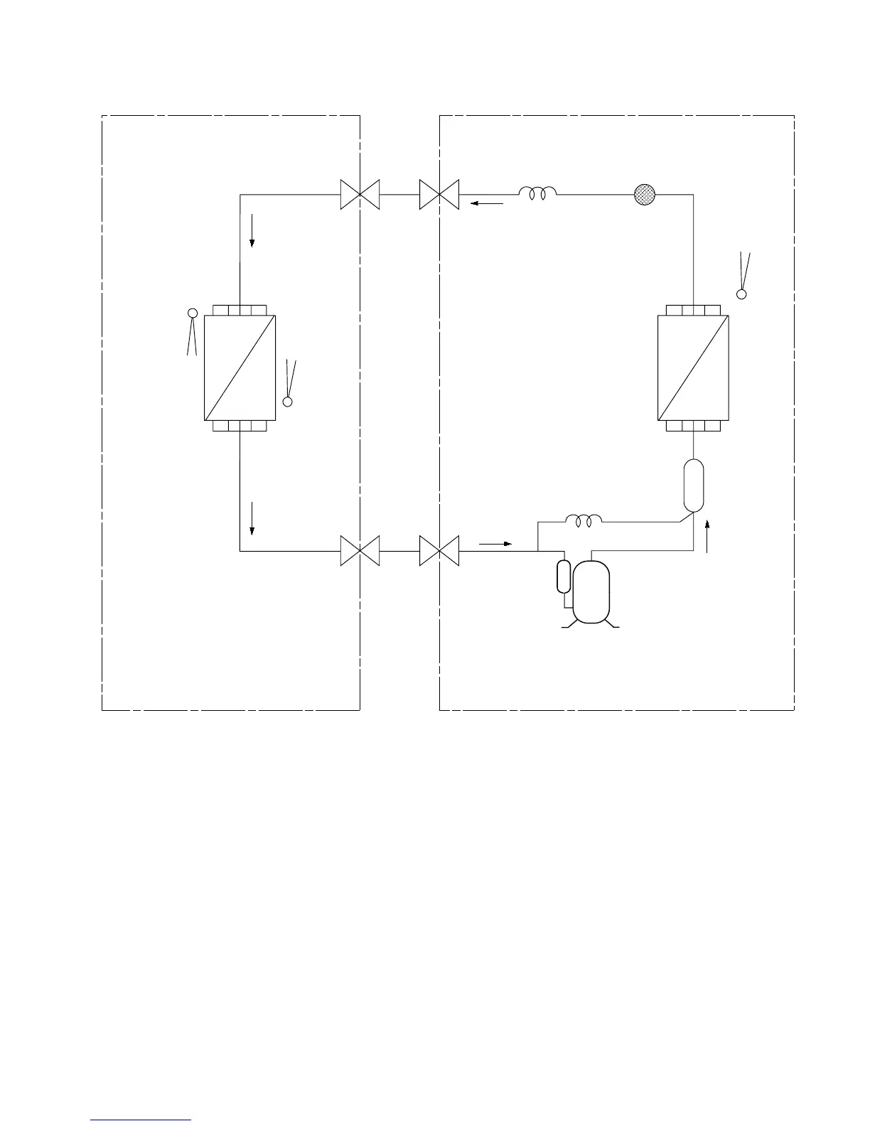
6. Refrigeration Cycle Diagram
ROODTUOROODNI
STRAINER
CAPILLARY
TUBE
LIQUID
SIDE
2-WAY
VALVE
GAS
SIDE
3-WAY
VALVE
THERMOSTAT
(C24PK & C28PK
only)
HEAT EXCHANGER
(CONDENSER)
HEAT EXCHANGER
(EVAPORATOR)
INTAKE
AIR
TEMP.
SENSOR
PIPE
TEMP.
SENSOR
CAPILLARY
TUBE
(C28PK only)
OIL
SEPARATOR
(C28PK only)
COMPRESSOR

Table of Contents

Other manuals for Panasonic CS-C9PKV

Related product manuals