EasyManua.ls Logo

Panasonic CU-B28DBE5 - Cs-F34 Db4 E5 Cu-B34 Dbe5;Cu; B34 Dbe8,Cs-F43 Db4 E5 Cu-B43 Dbe8,Cs- F50 Db4 E5 Cu-B50 Dbe8

Panasonic CU-B28DBE5
156 pages
Print Icon
To Next Page IconTo Next Page
To Next Page IconTo Next Page
To Previous Page IconTo Previous Page
To Previous Page IconTo Previous Page
Loading...
22
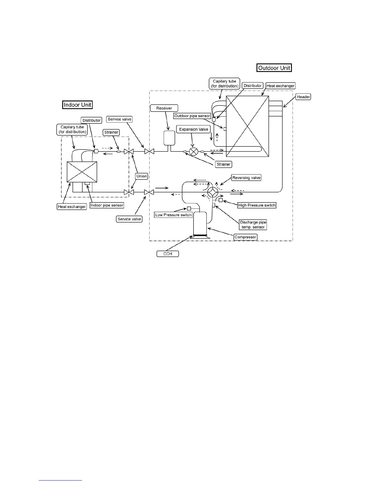
5.2. CS-F34DB4E5 CU-B34DBE5/CU-B34DBE8,
CS-F43DB4E5 CU-B43DBE8,
CS-F50DB4E5 CU-B50DBE8

Table of Contents

Other manuals for Panasonic CU-B28DBE5

Related product manuals