EasyManua.ls Logo

Panasonic CU-S24TKV - Page 52

Panasonic CU-S24TKV
168 pages
Print Icon
To Next Page IconTo Next Page
To Next Page IconTo Next Page
To Previous Page IconTo Previous Page
To Previous Page IconTo Previous Page
Loading...
52
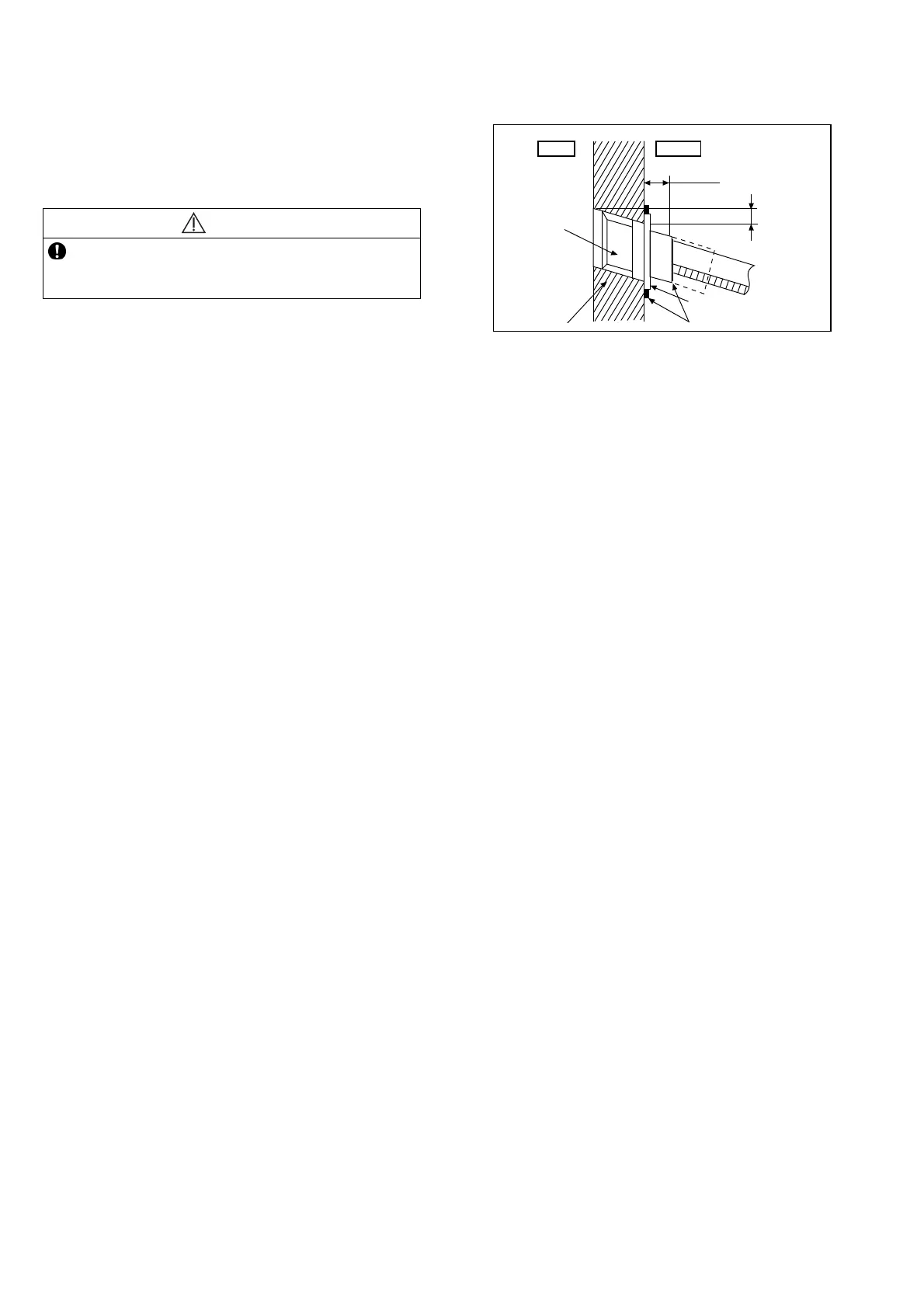
10.2.2 To Drill a Hole in the Wall and
Install a Sleeve of Piping
1 Insert the piping sleeve to the hole.
2 Fix the bushing to the sleeve.
3 Cut the sleeve until it extrudes about 15 mm
from the wall.
CAUTION
When the wall is hollow, please be sure to use the
sleeve for tube assembly to prevent dangers
caused by mice biting the connection cable.
4 Finish by sealing the sleeve with putty or
caulking compound at the final stage.
15 mm
Putty or caulking compound
Sleeve for
tube assembly
Approx. 5 - 7 mm
Bushing for tubeassembly
Wall
ø70 mm
through hole
Indoor
Outdoor

Table of Contents