EasyManua.ls Logo

Panasonic DMP-BDT700 - 3 D Content and BD-Live Features

Panasonic DMP-BDT700
44 pages
Print Icon
To Next Page IconTo Next Page
To Next Page IconTo Next Page
To Previous Page IconTo Previous Page
To Previous Page IconTo Previous Page
Loading...
18
SQT0280
While playing, press [PLAYBACK INFO.].
You can check the detailed disc playback status.
Press [RETURN] to exit.
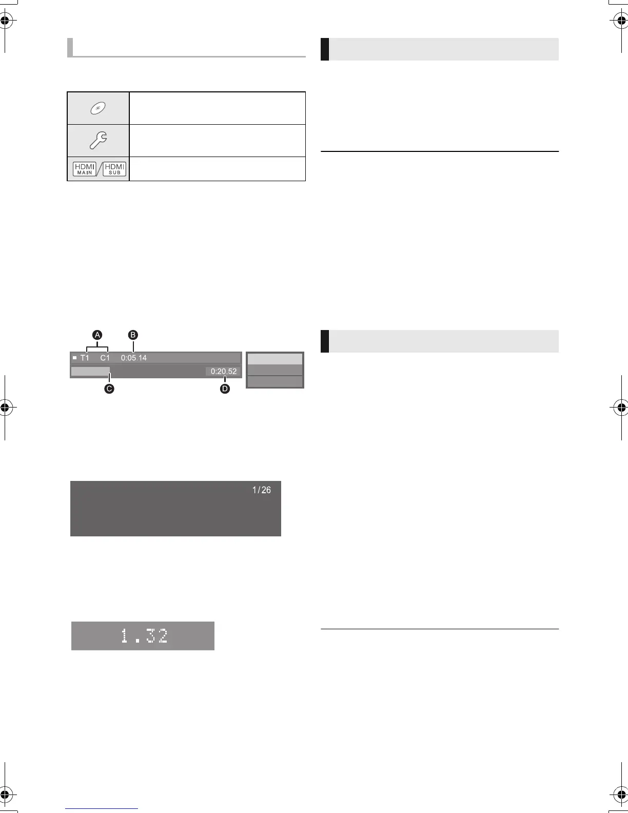
While playing, press [STATUS].
The status messages give you information about
what is currently being played. Each time you
press [STATUS], the display information may
change or disappear from the screen.
Depending on media and contents, the display
may change or not appear.
e.g., BD-Video
A T: Title, C: Chapter, PL: Playlist
B Elapsed time in the title
C Current position
D Tot al t im e
e.g., JPEG
During music playback, the elapsed time, file
name and other relevant information are
displayed on the unit’s display.
e.g.,MP3
Preparation
Connect this unit to a 3D compatible TV. (> 10)
Perform the necessary preparations for the TV.
Play back following the instructions displayed
on the screen.
3D Settings (> 26, 30)
Please refrain from viewing 3D images if you do not feel
well or are experiencing visual fatigue.
In the event that you experience dizziness, nausea, or
other discomfort while viewing 3D images, discontinue use
and rest your eyes.
3D video might not output the way it is set in “HDMI Video
Format” and “24p Output” (> 28).
When playing back 3D photos from “Photos” screen, select
from the “3D” list. (Still pictures in “2D” are played back in
2D.)
If “2D” and “3D” indications are not displayed, press the
red button on the remote control to switch the view of
playback contents.
With BD-Live discs, you can enjoy bonus
contents that use Internet access.
For this BD-Live function, insertion of an SD card
is necessary along with Internet connection.
1 Perform network connection and settings.
(> 13, 14)
2 Insert an SD card with 1 GB or more free
space.
The SD card is used as the local storage.
3 Insert the disc.
Deleting data/Formatting SD
cards
Select “SD Card Management” in the HOME
menu (> 16), then select “BD-Video Data
Erase” or “Format SD Card”.
The usable functions and the operating method may vary
with each disc, please refer to the instructions on the disc
and/or visit their website.
“BD-Live Internet Access” may need to be changed for
certain discs (> 32).
Show the status messages
Audio/video attribute information of
disc.
Settings status of “Digital Audio
Output” (> 29).
HDMI output information.
Play
BD-Video
Date 11/12/2010
Size 500 x 375
Manufacturer
Equipment
No.
Enjoying 3D video and photos
Enjoying BD-Live
DMP-BDT700EB-SQT0280.book 18 ージ 2014年5月13日 火曜日 午後1時3分

Other manuals for Panasonic DMP-BDT700

Related product manuals