EasyManua.ls Logo

Panasonic FP-E - Page 63

Panasonic FP-E
1334 pages
Print Icon
To Next Page IconTo Next Page
To Next Page IconTo Next Page
To Previous Page IconTo Previous Page
To Previous Page IconTo Previous Page
Loading...
1.2 Explanation of Relays
1-39
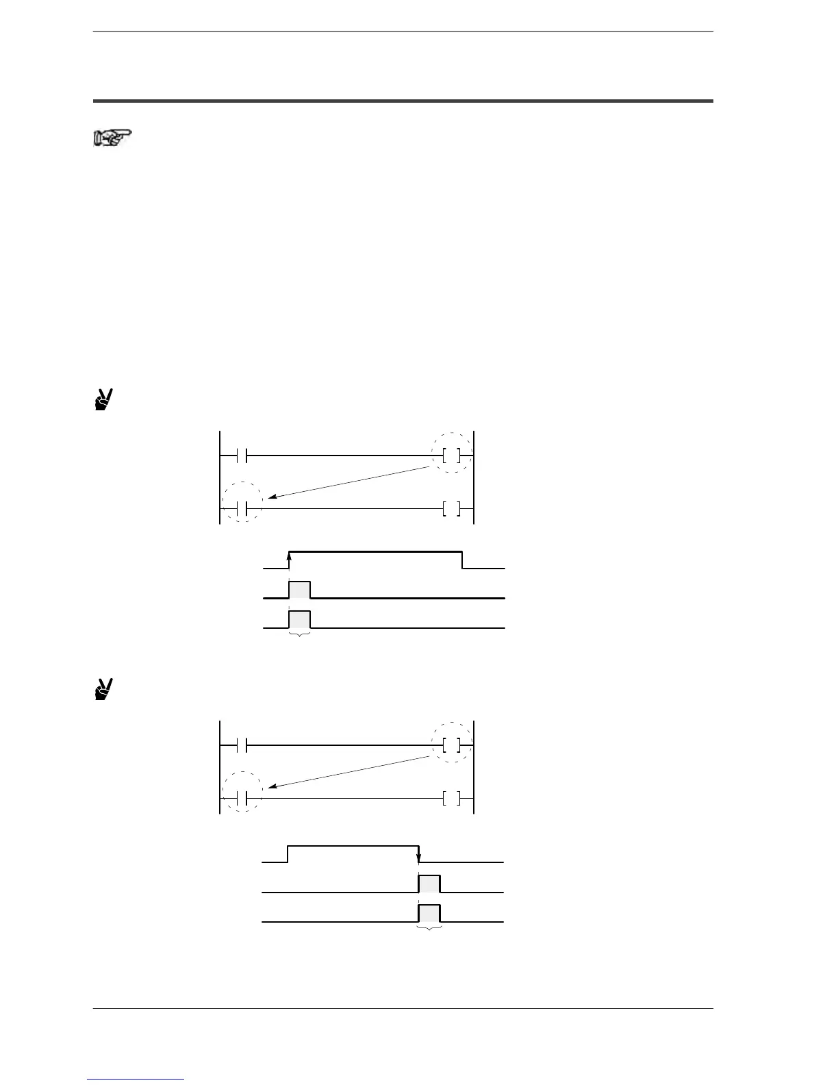
1.2.10 Pulse Relays (P)
Note
Pulse relays (P) can only be used with the FP2/FP2SH/FP10SH.
Function of pulse relays (P)
A pulse relay (P) goes on for one scan only. The on or off state is not externally output
and only operates in the program.
A pulse relay only goes on when a leading edge start instruction (OT) or a trailing edge
start instruction (OT) is executed.
When used as the trigger, a pulse relay only operates during one scan when leading
edge or trailing edge is detected.
Example 1: Differential execution when input X0 rises
X0
P0
P0
Y10
X0
P0
Y10
One scan
Example 2: Differential execution when input X1 falls
X1
P1
P1
Y11
X1
P1
Y11
One scan
Phone: 800.894.0412 - Fax: 888.723.4773 - Web: www.clrwtr.com - Email: info@clrwtr.com

Related product manuals