EasyManua.ls Logo

Panasonic KT4R - Page 11

Panasonic KT4R
58 pages
To Next Page IconTo Next Page
To Next Page IconTo Next Page
To Previous Page IconTo Previous Page
To Previous Page IconTo Previous Page
Loading...
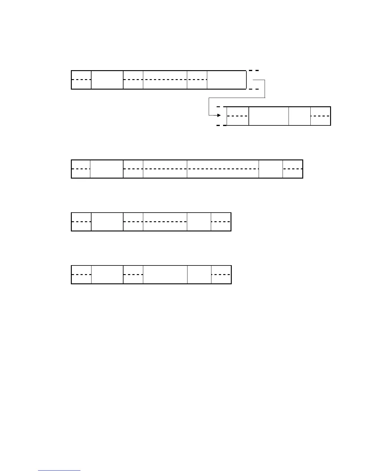
4.4.5 MC Command Structure
Monitor Contact Register/Reset
Registers contact (R only) to be monitored.
Up to 16 contacts can be registered.
Command
1 2 1 2 1 4
% # MC R
25H
Address
(Decimal)
23H 4DH 43H 52H
Contact No.
(1)
10
1
10
0
10
3
10
2
10
1
16
0
1 4 2 1
R C
R
52H
Contact No.
(n)
BCC
0DH
10
3
10
2
10
1
16
0
16
1
16
0
Reset
1 2 1 2 5 2 1
% # MC FFFFF C
R
25H
Address
(Decimal)
23H 4DH 43H 46H 46H 46H 46H 46H
BCC
0DH
10
1
10
0
16
1
16
0
Acknowledgement
1 2 1 2 2 1
% $ MC C
R
25H
Address
(Decimal)
24H 4DH 43H
BCC
0DH
10
1
10
0
16
1
16
0
Negative acknowledgement
1 2 1 2 2 1
% ! C
R
25H
Address
(Decimal)
21H
Error code
(Hexadecimal)
BCC
0DH
10
1
10
0
16
1
16
0
16
1
16
0

Other manuals for Panasonic KT4R

Related product manuals