EasyManua.ls Logo

Panasonic KT4R - Mounting to the Control Panel

Panasonic KT4R
58 pages
To Next Page IconTo Next Page
To Next Page IconTo Next Page
To Previous Page IconTo Previous Page
To Previous Page IconTo Previous Page
Loading...
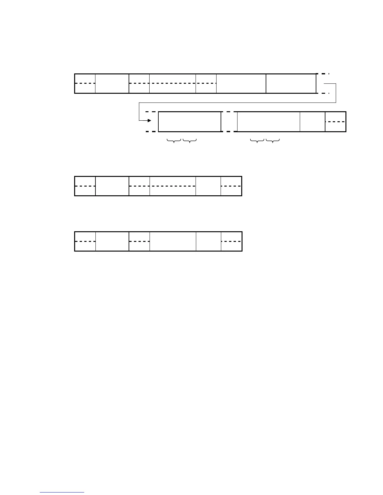
4.4.4 WD Command Structure
Data Area Write
Writes data to data area (DT area only).
16 pieces of data to 1 command can be specified.
Command
1 2 1 2 1 5 5
% # WD D
25H
Address
(Decimal)
23H 57H 44H 44H
Starting data No.
(Decimal)
Ending data No.
(Decimal)
10
1
10
0
10
4
10
3
10
2
10
1
10
0
10
4
10
3
10
2
10
1
10
0
4 4 2 1
C
R
Write Starting data
(Hexadecimal)
Write Ending data
(Hexadecimal)
BCC
0DH
16
1
16
0
16
3
16
2
16
1
16
0
16
3
16
2
16
1
16
0
Low High Low High
Acknowledgement
1 2 1 2 2 1
% $ WD C
R
25H
Address
(Decimal)
24H 57H 44H
BCC
0DH
10
1
10
0
16
1
16
0
Negative acknowledgement
1 2 1 2 2 1
% ! C
R
25H
Address
(Decimal)
21H
Error code
(Hexadecimal)
BCC
0DH
10
1
10
0
16
1
16
0
16
1
16
0

Other manuals for Panasonic KT4R

Related product manuals