EasyManua.ls Logo

Panasonic KT4R - Action Indicators; Key

Panasonic KT4R
58 pages
To Next Page IconTo Next Page
To Next Page IconTo Next Page
To Previous Page IconTo Previous Page
To Previous Page IconTo Previous Page
Loading...
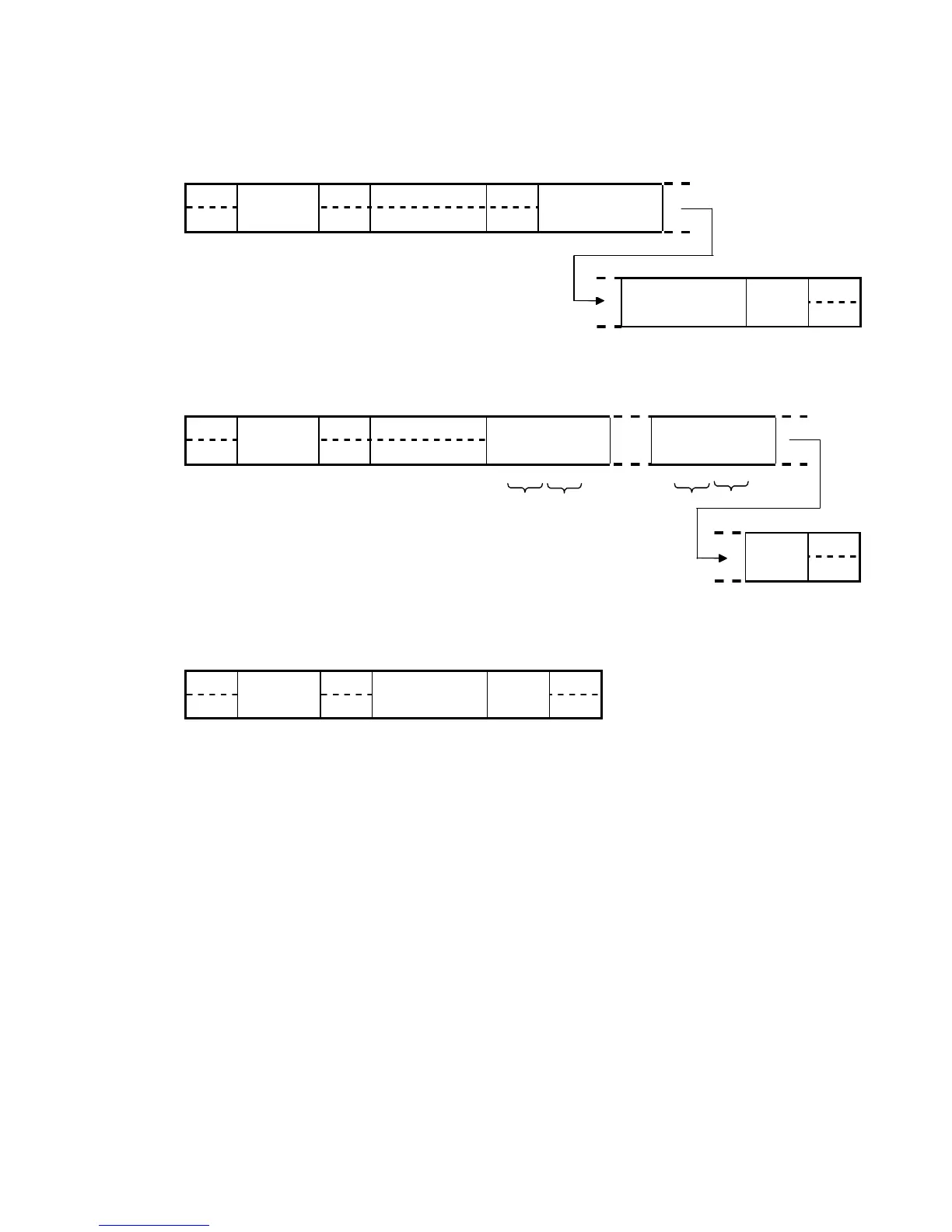
4.4.3 RD Command Structure
Data Area Read
Reads contents of data area (DT area only).
16 pieces of data to 1 command can be specified.
Command
1 2 1 2 1 5
% # RD D
25H
Address
(Decimal)
23H 52H 44H 44H
Starting data No.
( Decimal)
10
1
10
0
10
4
10
3
10
2
10
1
10
0
5 2 1
C
R
Ending data No.
(Decimal)
BCC
0DH
10
4
10
3
10
2
10
1
10
0
16
1
16
0
Acknowledgement
1 2 1 2 4 4
% $ RD
25H
Address
(Decimal)
24H 52H 44H
Starting data
(Hexadecimal)
Ending data
(Hexadecimal)
10
1
10
0
16
1
16
0
16
3
16
2
16
1
16
0
16
3
16
2
Low High Low High
2 1
C
R
BCC
0DH
16
1
16
0
Negative acknowledgement
1 2 1 2 2 1
% ! C
R
25H
Address
(Decimal)
21H
Error code
(Hexadecimal)
BCC
0DH
10
1
10
0
16
1
16
0
16
1
16
0

Other manuals for Panasonic KT4R

Related product manuals