EasyManua.ls Logo

Panasonic KX-B620 - Page 56

Panasonic KX-B620
75 pages
Print Icon
To Next Page IconTo Next Page
To Next Page IconTo Next Page
To Previous Page IconTo Previous Page
To Previous Page IconTo Previous Page
Loading...
KX-B620
Series
KX-B520
Series
Capacitor
C
receives
the
transferred
electric
charge.
The
voltage
difference
is
outputted
from
source
follower
of
Q2
and
Q3.
Q1
recovers
the
quantity
of
charge
in
capacitor
C
to
the
constant
quantity.
@sHo:
Sample
and
hold
clock
signal
This
samples
the
continuous
signal
from
CCD.
The
timing
of
Vout
is
as
follows:
ah
or
eee
valid
signal
level
Fig.
34
@10:
Shift
register
clock
signal
This
clock
signal
separately
shifts
the
transferred
data
in
the
shift
register
which
has
two
lines
of
525
bit.
The
shifted
data
is
sampled
and
held
in¢sHo,
and
output
as
Vout.
¢1t¢:
Transferring
gate
clock
signal
This
clock
signal
transfers
the
charge
in
light
conversion
section
to
the
shift
register.
The
charge
in
the
odd
element
is
transferred
to
the
odd
shift
register.
The
charge
in
the
even
element
is
transferred
to
the
even
element.
One
period
of
transferring
gate
clock
equals
the
charging
time
of
the
CCD.
Photo
array
¢
ozs
bit
use
:
bit
)
a
mets
mili
niall
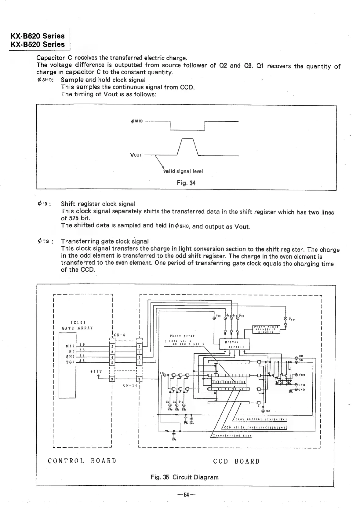
CONTROL
BOARD
CCD
BOARD
Fig.
35
Circuit
Diagram

Related product manuals