EasyManua.ls Logo

Panasonic KX-FT63BX - Page 70

Panasonic KX-FT63BX
165 pages
Print Icon
To Next Page IconTo Next Page
To Next Page IconTo Next Page
To Previous Page IconTo Previous Page
To Previous Page IconTo Previous Page
Loading...
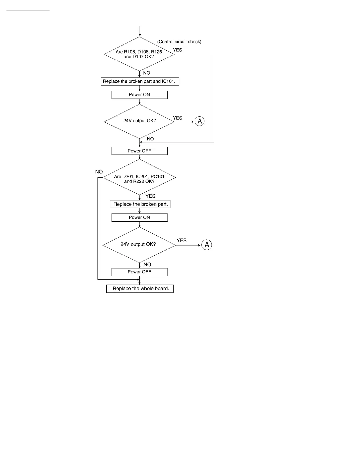
3. Broken parts repair details
(D101, D102, D103, D104)
Check for a short-circuit in terminal 4. If D101, D102, D103 and D104 are short-circuits, F101 will melt (open).
In this case, replace all of the parts (D101, D102, D103, D104, F101).
(Q101)
The worst case of Q101 is a short-circuit between the Drain and Gate because damage expands to the peripheral circuit of
Q101.
This is due to a very high voltage through the Gate circuit which is composed of R128, R109, D106 and IC101.
You should change all of the parts listed as follows.
F101, Q101, R128, R109, D106, IC101
(D201)
If D201 is broken, the oscillation circuit in the power supply cannot operate. Check it with an electric tester.
70
KX-FT63BX / KX-FT63BX-W

Table of Contents

Related product manuals