EasyManua.ls Logo

Panasonic KX-NT366 - Features List - Voice Mail Service; Listening to Messages; Leaving Messages

Panasonic KX-NT366
24 pages
Print Icon
To Next Page IconTo Next Page
To Next Page IconTo Next Page
To Previous Page IconTo Previous Page
To Previous Page IconTo Previous Page
Loading...
Features List
8 Document Version 2007-06
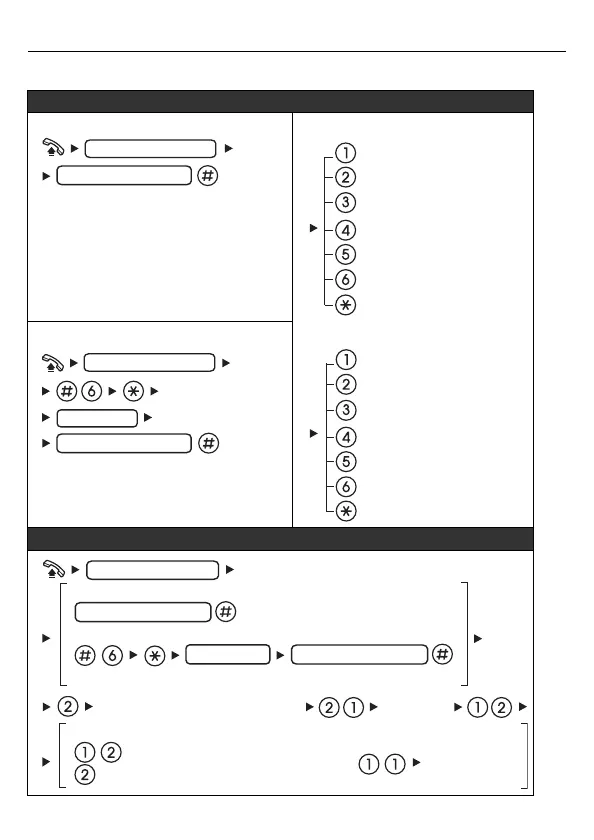
Making Use of the Voice Mail Service
Listening to a message
From your own extension
* If you have no password, you can skip
the last step.
From someone else’s extension
* If you have no password, you can skip
the last step.
Leaving a message
Mailbox Password*
VPS extension no.
End Call
KX-TVA series
Listen to Message
Deliver Message
Mailbox Management
Automated Attendant
Message Notification
Other Features
KX-TVS series
Listen to Message
Deliver Message
Check Mailbox
Distribution
Automated Attendant
Mailbox Management
Other Features
End Call
mailbox no.
VPS extension no.
Mailbox Password*
mailbox no.
VPS extension no.
From your own extension
From someone else’s extension
* If you have no password, you can skip the last step.
Mailbox Password*
Mailbox Password*
Enter the desired mailbox number
Leave
a message
To send the message immediately
To set the delivery time
(KX-TVA series)
(KX-TVS series)
OR
Follow the
guidance
NT300M_QRG.fm Page 8 Tuesday, May 22, 2007 11:36 AM

Related product manuals