EasyManua.ls Logo

Panasonic Lumix DMC-FH7

Panasonic Lumix DMC-FH7
135 pages
To Next Page IconTo Next Page
To Next Page IconTo Next Page
To Previous Page IconTo Previous Page
To Previous Page IconTo Previous Page
Loading...
- 117 -
Others
Others
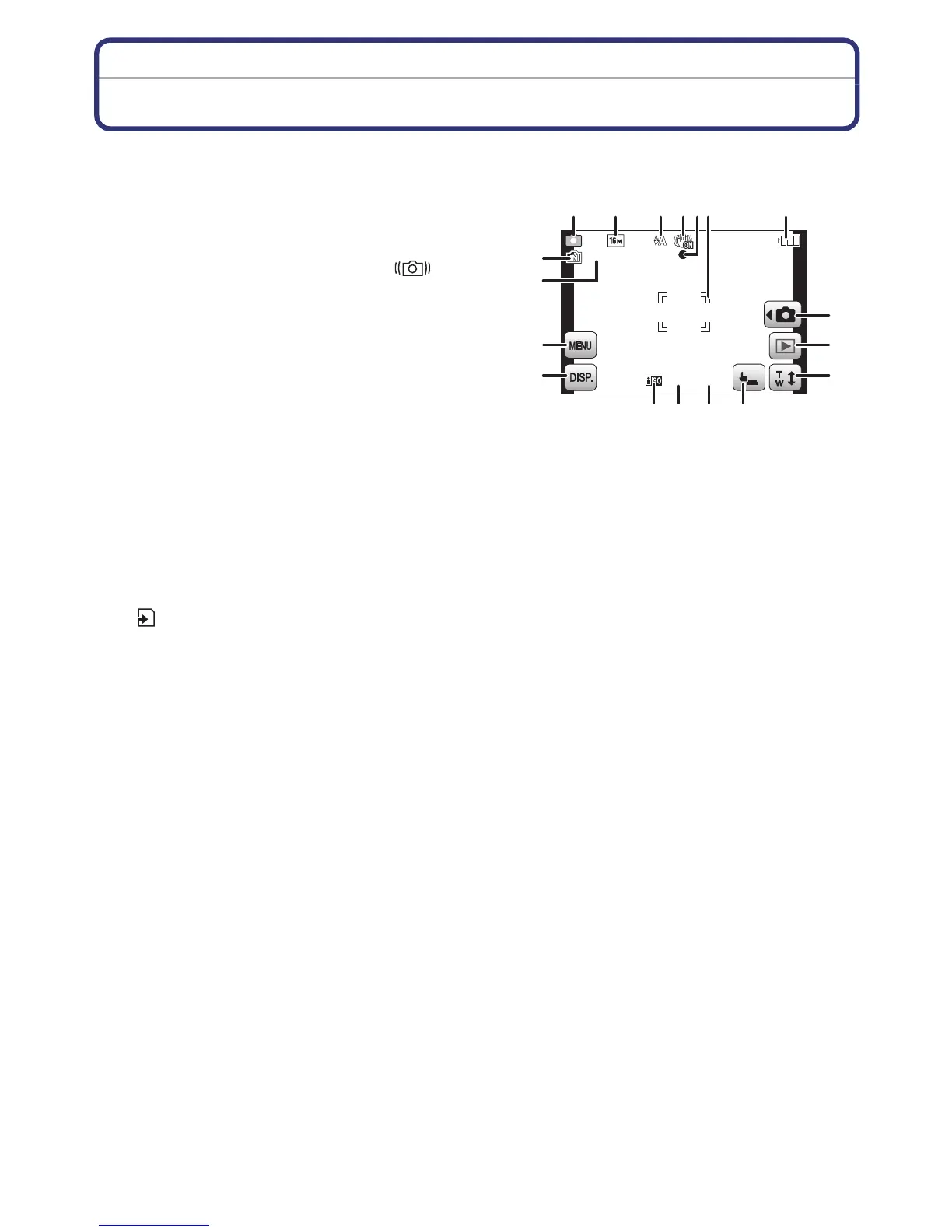
Screen Display
In recording
Recording in Normal Picture Mode [!] (Initial setting)
1 Recording Mode
2 Picture Size (P72)
3 Flash Mode (P68)
4 Optical Image Stabilizer (P85)/: Jitter
alert (P20)
5 Focus (P26)
6 AF area (P26)
7 Battery indication (P10)
8 Recording Mode selection (P21)
9 Playback Mode selection (P28)
10 Zooming with touch operation (P48)
11 Touch shutter (P43)
12 Shutter speed (P25)
13 Aperture value (P25)
14 ISO sensitivity (P74)
15 Display (P42)
16 Menu (P34)
17 Number of recordable pictures
¢1
(P17)
18 Built-in memory (P15)
: Card (P15) (displayed only during recording)
¢1[i99999] is displayed if there are more than 100,000 pictures remaining.
1/601/60
1/60
F3.1F3.1
F3.1
1212
×
8
9
10
11
12
1314
12 345
6
15
18
17
16
7

Table of Contents

Related product manuals