EasyManua.ls Logo

Panasonic Lumix DMC-FX35 - Battery Indication (P13); Built-In Memory (P15); Iso; Picture Size (P57)

Panasonic Lumix DMC-FX35
128 pages
To Next Page IconTo Next Page
To Next Page IconTo Next Page
To Previous Page IconTo Previous Page
To Previous Page IconTo Previous Page
Loading...
97
VQT1P09
Others
35 Self-timer mode (P42)
¢
1 This is displayed for about 5 seconds when this unit is turned on in [BABY1]/[BABY2] or
[PET] in scene mode.
¢2 This is displayed for about 5 seconds when the camera is turned on, after setting the clock
and after switching from playback mode to recording mode.
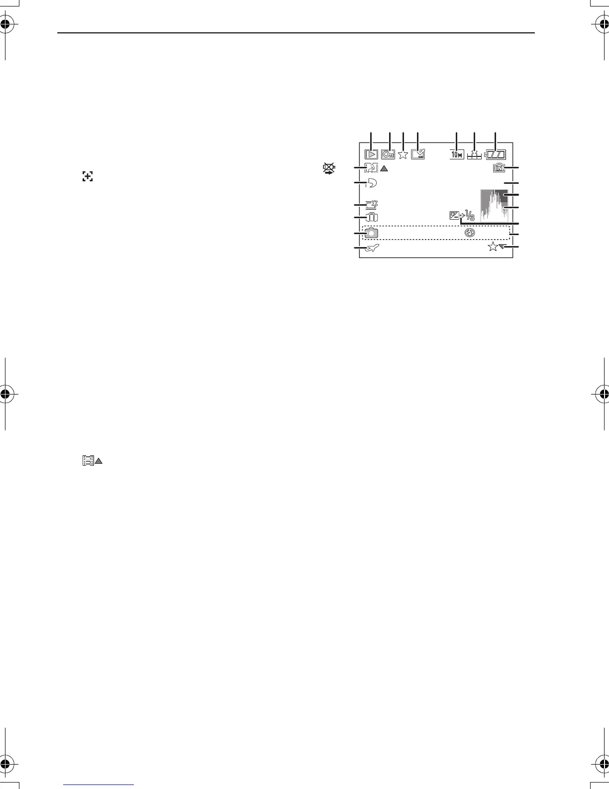
In playback
1 Playback mode (P32)
2 Protected picture (P85)
3 Favorites (P83)
: Zoom mark (P68)
4 Stamped with text indication (P78)
5 Picture size (P57)
Motion picture icon (P74)
6 Quality (P58)
7 Battery indication (P13)
8 Folder/File number (P89)
Built-in memory (P15)
Elapsed playback time (P74):
9 Picture number/Total pictures
10 Motion picture recording time (P74):
11 Histogram (P37)
12 Exposure compensation (P43)
13 Recording information
14 Favorites settings (P83)
15 Recorded date and time/Travel destination setting (P55)/Name (P48)/Title (P77)
16 Age (P48)
17 Number of days that have passed since the travel date (P54)
18 Power LCD (P20)
19 Number of DPOF prints (P83)
20 Audio playback (P74)
: Motion picture playback (P74)
Cable disconnection warning icon (P90)
1ST DAY1ST DAY
1ST DAY
1ST DAY
10:00 DEC.1.2008
10:00 DEC.1.2008
10:00 DEC.1.2008
8
9
20
19
13
15
14
10
18
17
F2.8 1/30
F2.8 1/30
F2.8 1/30
ISO
ISO
100
100
ISO
100
AWB
AWB
AWB
1/9
1/9
100
100
_
0001
0001
1/9
16
100
_
0001
12
1
1
1234 6 75
11
9s
9s
9s
8
m
30
s
8
m
30
s
DMC-FX35P_mst.book 97 ページ 2008年1月15日 火曜日 午前10時36分

Table of Contents

Related product manuals