EasyManua.ls Logo

Panasonic NR-BS53VX3 - Operation; Control panel

Panasonic NR-BS53VX3
256 pages
Print Icon
To Next Page IconTo Next Page
To Next Page IconTo Next Page
To Previous Page IconTo Previous Page
To Previous Page IconTo Previous Page
Loading...
14
Operation
Control panel
a
e
f
h
j
k
l
m
b
c
d
g
i
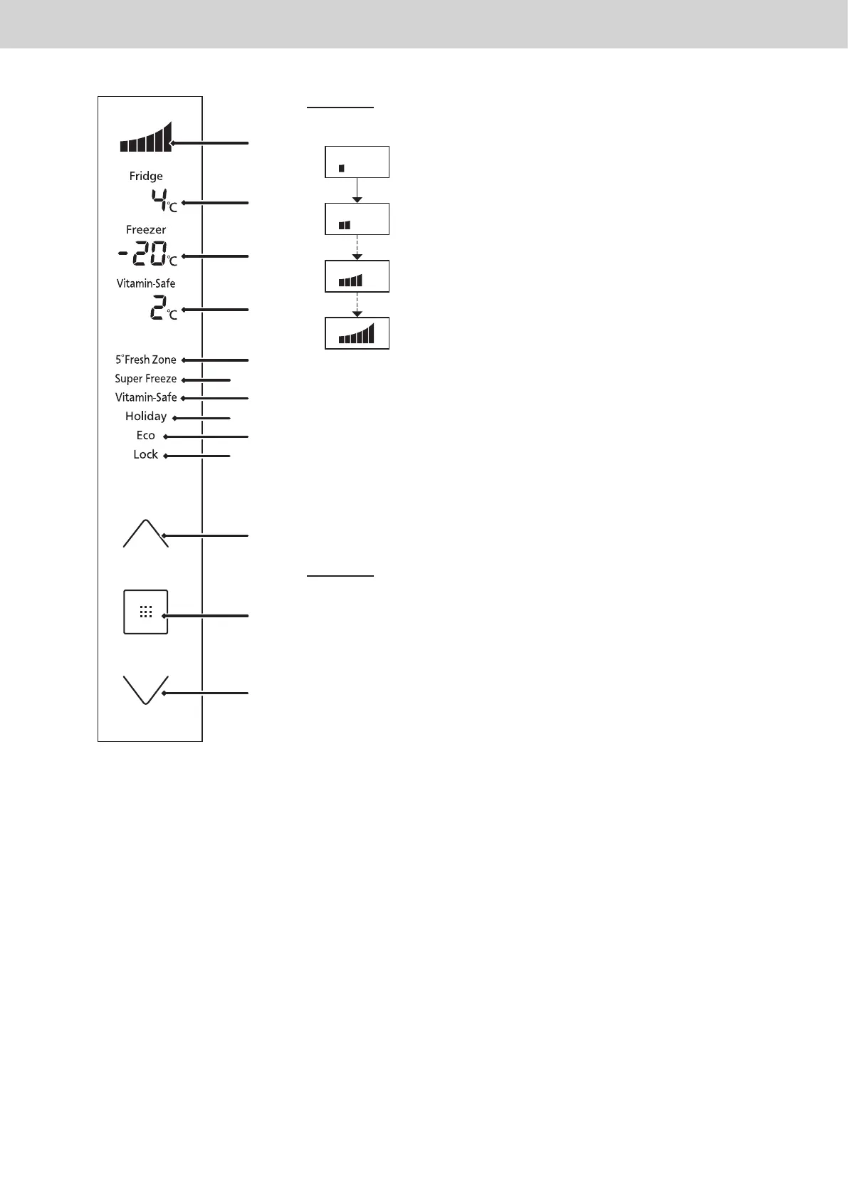
Display area
a.
Cooling power level
Cooling power by the refrigerator is indicated here.
Lowest power level
( when the compressor is shut down or running at lowest speed)
Low power level
(when the compressor is running at low speed)
Medium power level
(when the compressor is running at medium speed)
High power level
(when the compressor is running at high speed)
b.
Fridge temperature
c.
Freezer temperature
d.
Vitamin-Safe Zone temperature
e.
5° Fresh Zone Mode
f.
Super Freeze Mode
g.
Vitamin-Safe Mode
h.
Holiday Mode
i.
Eco Mode
j.
Child Lock
Control area
k.
Up button
l.
Set button
m.
Down button
Notes:
Normally the panel displays are off. Displays appear when the buttons are operated, or the doors are opened.
The displayed temperature may differ from the actual temperature.
The buttons are operated by touching them.
This refrigerator uses a microprocessor to control the temperature.
The temperature inside the refrigerator varies depending on such factors as changes in the room temperature, the speed at which the
compressor is operating, how frequently the doors are opened and closed, and how much food is stored inside and how it is stored.

Table of Contents