EasyManua.ls Logo

Panasonic NR-BS53VX3 - Page 152

Panasonic NR-BS53VX3
256 pages
Print Icon
To Next Page IconTo Next Page
To Next Page IconTo Next Page
To Previous Page IconTo Previous Page
To Previous Page IconTo Previous Page
Loading...
152
Användning
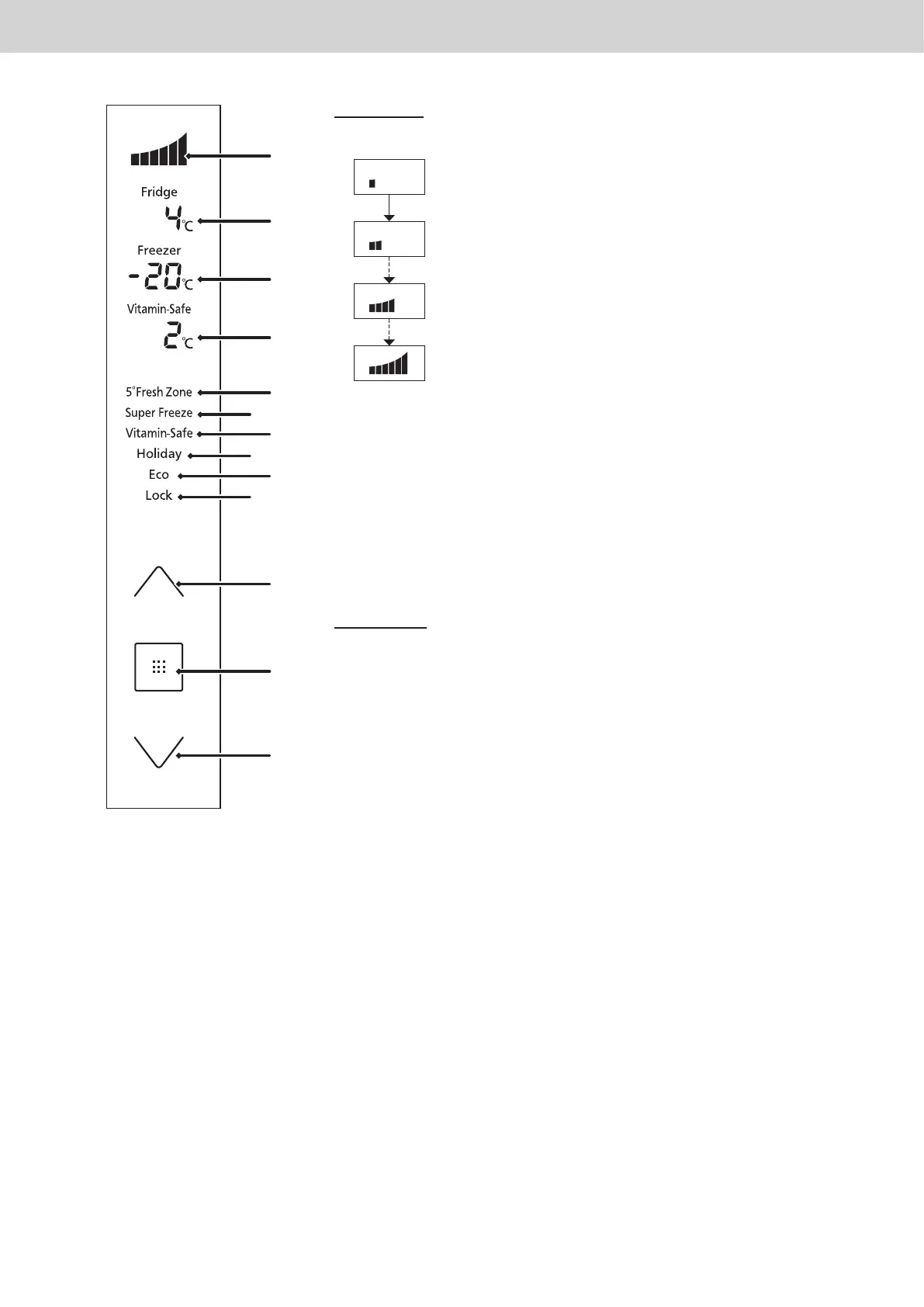
Kontrollpanel
a
e
f
h
j
k
l
m
b
c
d
g
i
Displayområde
a.
Kylningseffektnivå
Den kylningseffektnivå som används av kylen/frysen anges här.
Lägsta effektnivå
( när kompressorn är avstängd eller går med lägsta hastighet)
Låg effektnivå
(när kompressorn går med låg hastighet)
Medeleffektnivå
(när kompressorn går med medelhastighet)
Hög effektnivå
(när kompressorn går med hög hastighet)
b.
Kylskåpets temperatur
c.
Frysens temperatur
d.
Vitaminbevarande zonens temperatur
e.
Läget 5° Fräschzon
f.
Superfrysläge
g.
Vitaminbevarande läge
h.
Semesterläge
i.
Energisparande läge
j.
Barnlås
Kontrollområde
k.
Uppknapp
l.
Inställningsknapp
m.
Nedknapp
Observera:
Paneldisplayerna är normalt släckta. Displayer tänds när knappar manövreras eller när dörrar öppnas.
Den temperatur som visas kan skilja sig från den verkliga temperaturen.
Knapparna manövreras genom att du touchar dem.
Denna kyl/frys använder en mikrodator för att styra temperaturen.
Temperaturen inne i kylen/frysen varierar i enlighet med sådana faktorer som ändringar i rumstemperatur, den hastighet med vilken
kompressorn arbetar, hur ofta dörrarna öppnas och stängs, hur mycket matvaror som lagras inne i den och hur maten är lagrad.

Table of Contents