EasyManua.ls Logo

Panasonic PT-D4000E - Side-Mounted Connection Terminals

Panasonic PT-D4000E
68 pages
Print Icon
To Next Page IconTo Next Page
To Next Page IconTo Next Page
To Previous Page IconTo Previous Page
To Previous Page IconTo Previous Page
Loading...
13
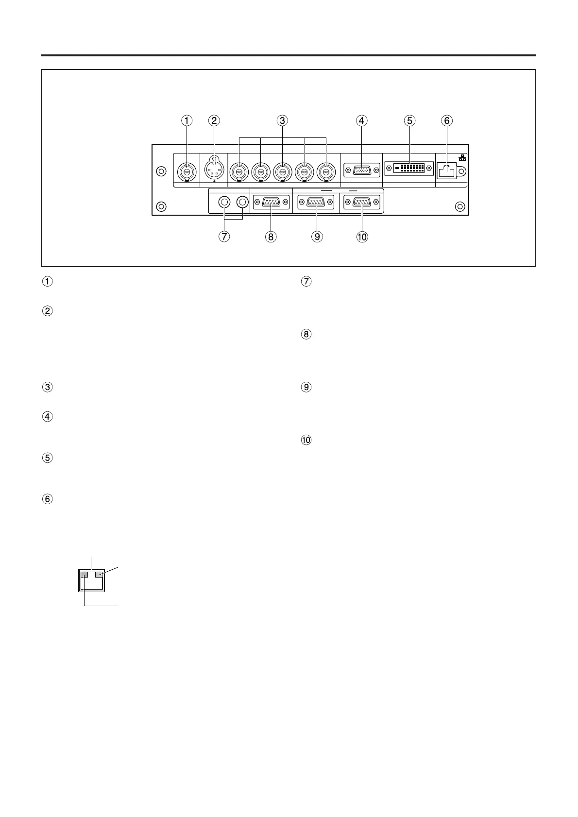
VIDEO IN terminal (page 21)
An input terminal for video signals. (BNC)
S-VIDEO IN terminal (page 21)
An input terminal for S-Video signals.
(MIN4-pin DIN)
This terminal complies with S1 signals and
automatically toggles between 16:9 and 4:3
according to the size of input signals.
RGB 1 input (RGB 1 IN) terminal (page 21)
A terminal to input RGB or YPBPR signals. (BNC)
RGB 2 input (RGB 2 IN) terminal (page 21)
A terminal to input RGB or YPBPR signals. (D-Sub
15-pin female)
DVI-D IN terminal (page 21)
DVI-D signals are applied to this terminal. (24-pin
DVI-D connector)
LAN terminal (page 37)
This terminal is used to control the projector from
the PC. (10BASE-T/100BASE-TX compliant)
REMOTE1 lN/OUT terminal (page 15)
When two or more main units are used in the
system, they can be connected and controlled with
M3 stereo mini jack cable available in the market.
REMOTE2 IN terminal (page 49)
The user can remotely control the main unit by
using an external control circuit to this terminal.
(D-Sub 9-pin female)
SERIAL IN terminal (pages 23, 48)
Use the RS-232C serial terminal as an alternative
interface for controlling the projector from your PC.
(D-Sub 9-pin female)
SERIAL OUT terminal (pages 23, 48)
The signal applied to the serial input terminal
appears at this terminal. (D-Sub 9-pin male)
RGB 2 IN
VD
SYNC/HD
B/P
B
G/Y
R
R/P
SERIAL
REMOTE 1
REMOTE 2 IN
IN
OUT
LAN
DVI-D IN
RGB 1 IN
VIDEO IN
S-VIDEO IN
IN OUT
Side-mounted
connection terminals
LAN terminal (10BASE-T/100BASE-TX)
Connect LAN cable.
LAN 10/100 lamp (Yellow)
Lights up when 100BASE-TX
connected.
LAN LINK/ACT lamp (Green)
Lights up when connected.
Flashes when receiving/sending
signals.

Table of Contents

Other manuals for Panasonic PT-D4000E

Related product manuals