EasyManua.ls Logo

Panasonic SA-PM10 - Page 59

Panasonic SA-PM10
111 pages
Print Icon
To Next Page IconTo Next Page
To Next Page IconTo Next Page
To Previous Page IconTo Previous Page
To Previous Page IconTo Previous Page
Loading...
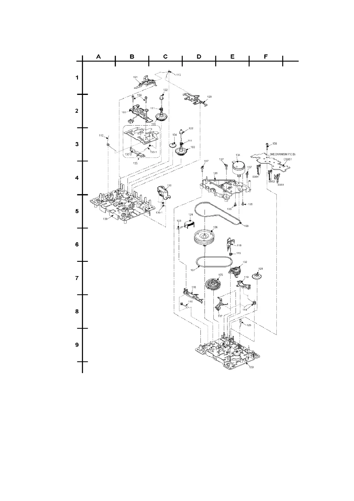
20.1.2. Deck Mechanism Parts List
59

Related product manuals