EasyManua.ls Logo

Panasonic SA-PM25 - Packaging Information

Panasonic SA-PM25
100 pages
Print Icon
To Next Page IconTo Next Page
To Next Page IconTo Next Page
To Previous Page IconTo Previous Page
To Previous Page IconTo Previous Page
Loading...
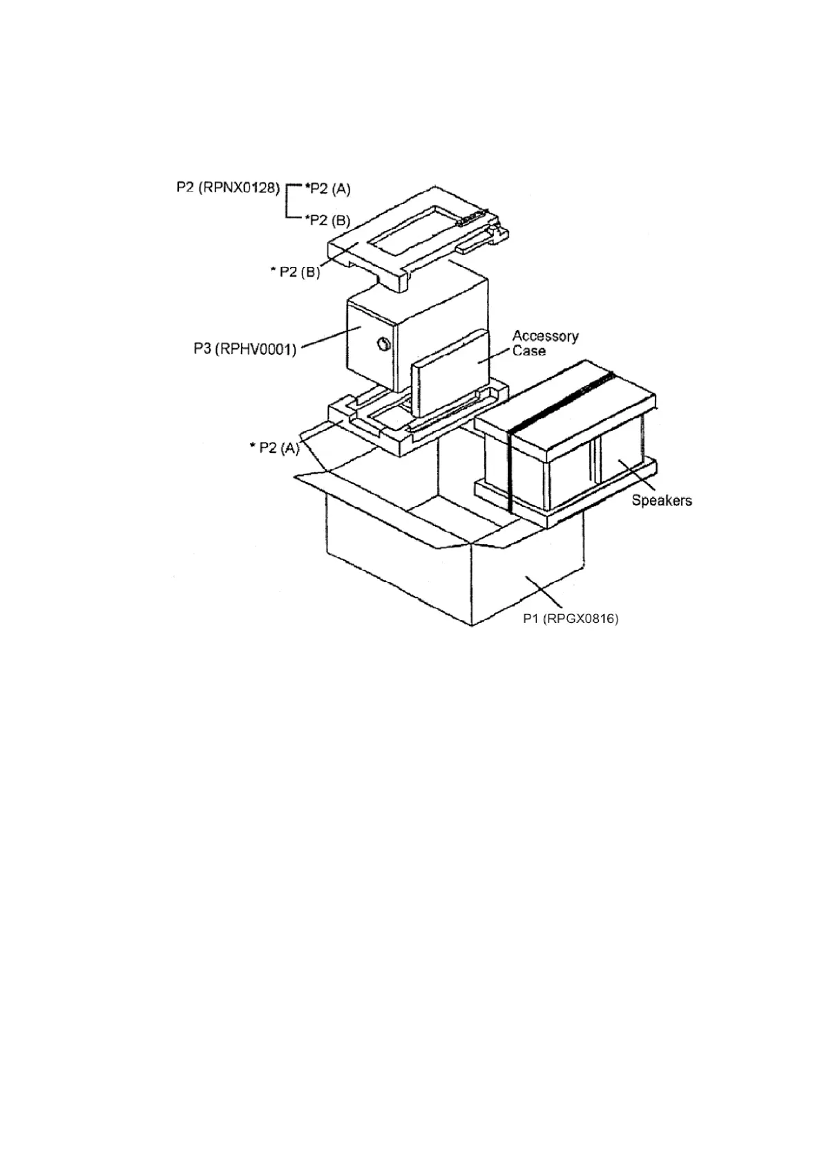
17.6. Packaging
Printed in Singapore / P010700001 J/N/H/K/L/PRT
72

Related product manuals